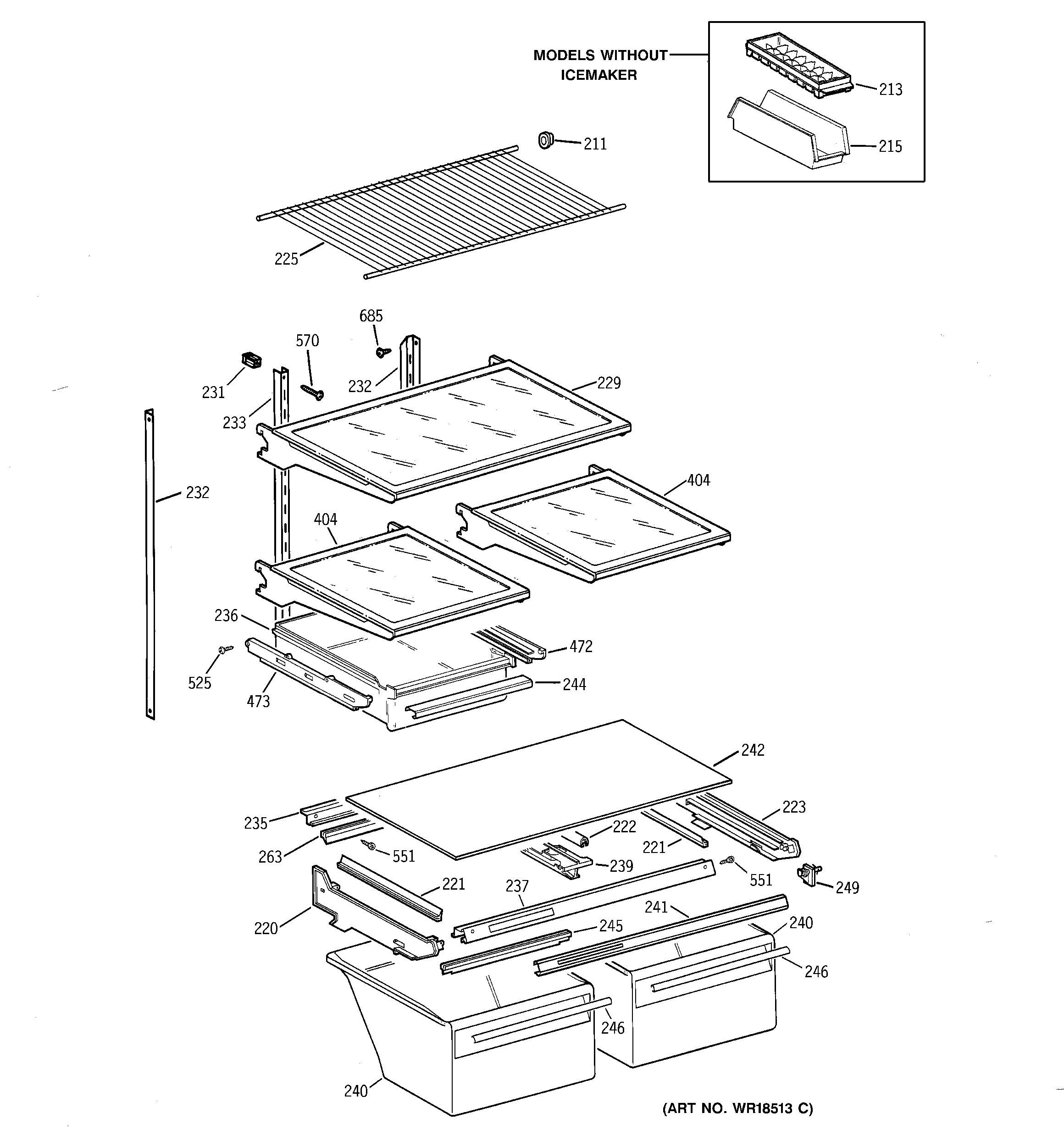
CTX21DABRRWW SHELF PARTS