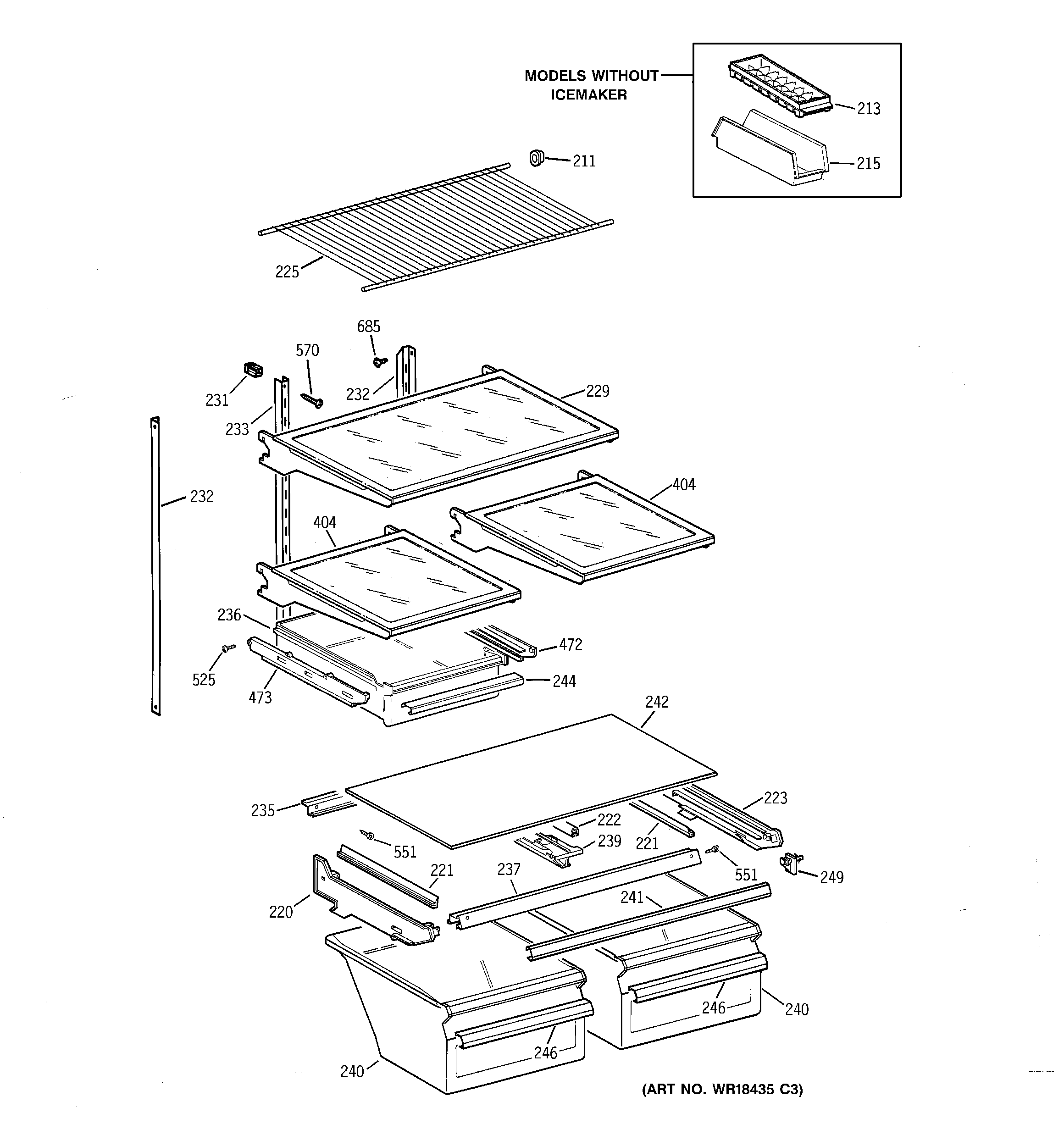
CTX21DAZHRWW SHELF PARTS