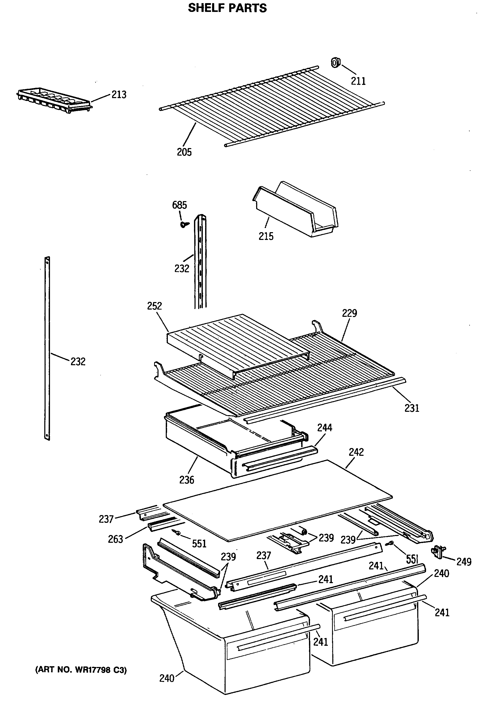
CTX21EASMRWH SHELF PARTS