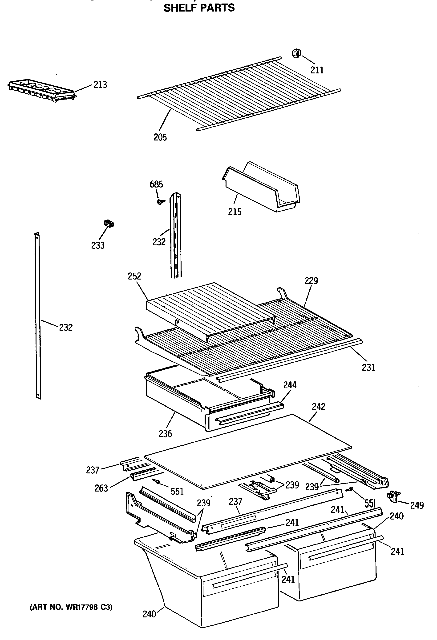
| 205 | GEN WR71X2312 |
| 211 | GEN WR02X7973 |
| 213 | WR30X311 GE Refrigerator Ice Tray |
| 215 | GEN WR32X0897 |
| 229 | GEN WR71X1949 |
| 231 | GEN WR38X1976 |
| 232 | GEN WR72X0096 |
| 233 | GEN WR02X7018 |
| 236 | GEN WR32X1055 |
| 237 | GEN WR17X2798 |
| 237 | GEN WR17X3288 |
| 239 | SLIDE VEG PAN LH |
| 239 | GEN WR17X2768 |
| 239 | SLIDE VEG PAN RH |
| 239 | GEN WR14X0384 |
| 239 | GASKET SLIDE CTR VP |
| 240 | GEN WR32X1155 |
| 241 | GEN WR38X1973 |
| 241 | GEN WR17X3289 |
| 242 | GEN WR32X1389 |
| 244 | GEN WR38X1971 |
| 249 | GEN WR02X8695 |
| 249 | GEN WR02X8379 |
| 249 | GEN WR02X7811 |
| 252 | GEN WR32X1157 |
| 551 | GEN WZ04X0244 |
| 685 | WR01X10606 GE Refrigerator Screw 8-18 CA HX 1/2 S |