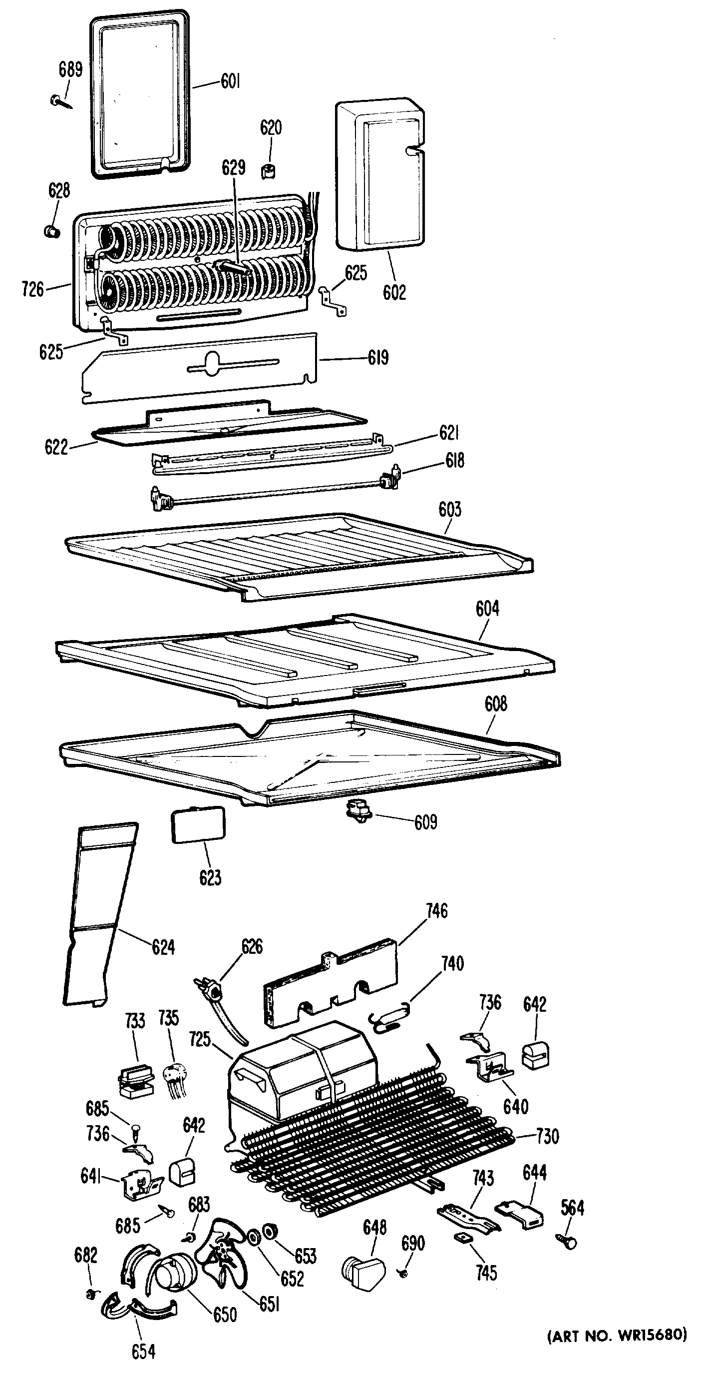
| 564 | GEN WR01X1194 |
| 601 | GEN WR17X1552 |
| 602 | GEN WR82X0247 |
| 603 | GEN WR17X1918 |
| 604 | GEN WR17X1917 |
| 608 | GEN WR17X1906 |
| 608 | GEN WR14X0313 |
| 609 | WR23X37285 GE Light Switch |
| 618 | WR51X466 GE Refrigerator Defrost Heater |
| 619 | SHIELD HEAT |
| 620 | WR50X60 GE Refrigerator Defrost Thermostat |
| 621 | GEN WR02X4495 |
| 621 | GEN WR02X7153 |
| 622 | GEN WR17X1912 |
| 622 | GEN WR14X0314 |
| 623 | COVER DUCT FF |
| 623 | GEN WR14X0289 |
| 624 | GEN WR17X1914 |
| 626 | WR23X10300 GE Refrigerator Power Cord Assembly |
| 626 | WR1X5278 GE Refrigerator Cable Clamp |
| 628 | GEN WR02X7026 |
| 640 | BRACKET COMP MTG-R.SIDE |
| 641 | BRACKET COMP MTG-L.SIDE |
| 642 | BUSHING COMP MTG |
| 644 | GEN WR02X2375 |
| 644 | TONGUE ASM |
| 648 | WR9X502 GE Refrigerator Defrost Timer |
| 650 | WR60X177 GE Condenser Fan Motor |
| 651 | GEN WR60X0117 |
| 652 | GEN WR01X1683 |
| 653 | GEN WR01X1515 |
| 654 | BRACKET COND FAN |
| 682 | GEN WX06X0134 |
| 683 | SCREW FAN MTR/BRKT |
| 685 | SCR 1/4-14 AB HX 1/2S NS |
| 689 | WZ5X246 GE Screw |
| 690 | WZ5X158D GE Screw Package of 12 |
| 725 | MACHINE HIGH SIDE |
| 725 | REFRIGERANT 6 OZ. |
| 726 | MACHINE LOW SIDE |
| 730 | GEN WR84X0074 |
| 733 | GEN WR07X0104 |
| 735 | GEN WR08X0043 |
| 736 | COVER COMP MTG BRKT |
| 740 | WR86X25269 GE Refrigerator R134 Dryer |
| 743 | EXT COMP MTG |
| 745 | NUTSTRIP COMP MTG D/J |
| 746 | GEN WR17X1915 |