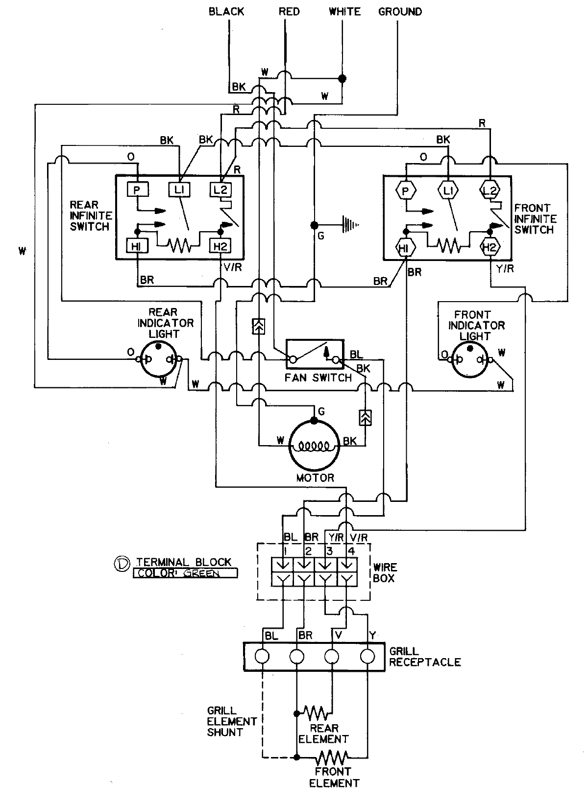
CVEX4100B 05 – WIRING INFORMATIONadmin2025-04-26T11:19:11+00:00CVEX4100B 05 – WIRING INFORMATION ProductsPositionProductNIMAY 15002028