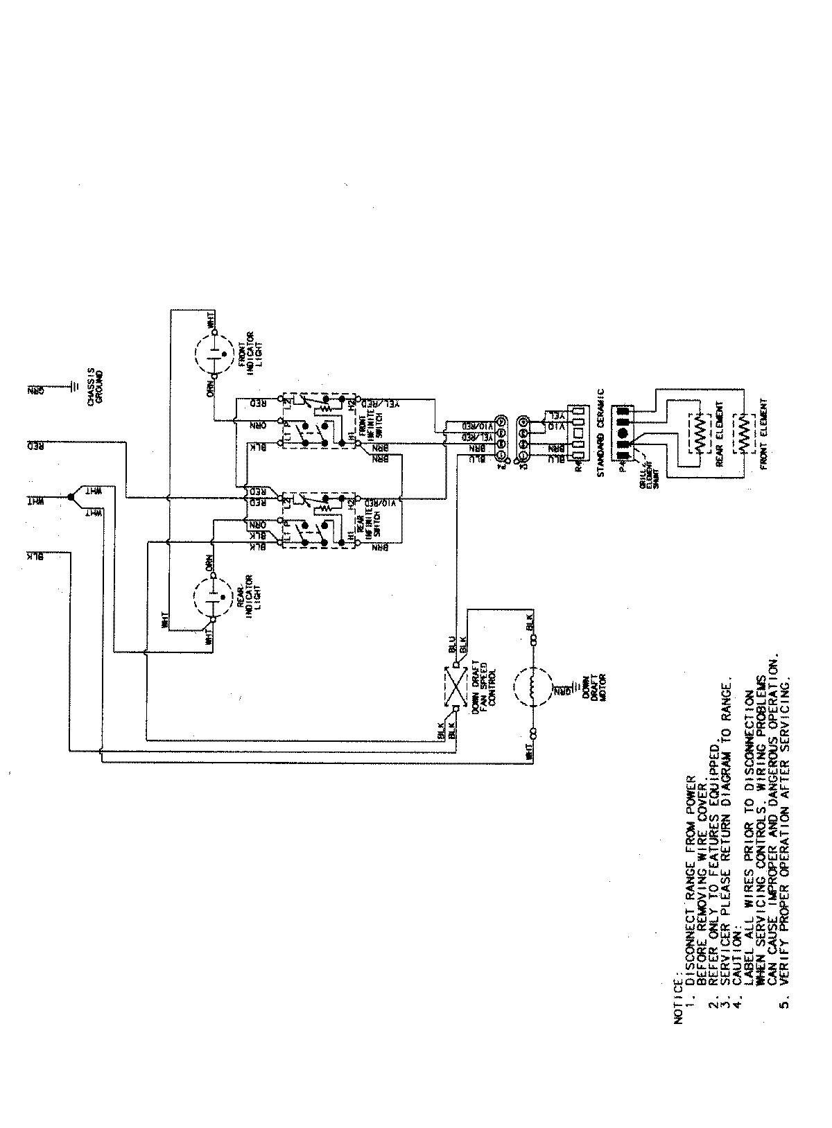
CVEX4100W 06 – WIRING INFORMATIONadmin2025-04-26T11:18:35+00:00CVEX4100W 06 – WIRING INFORMATION ProductsPositionProductNIMAY 15003350