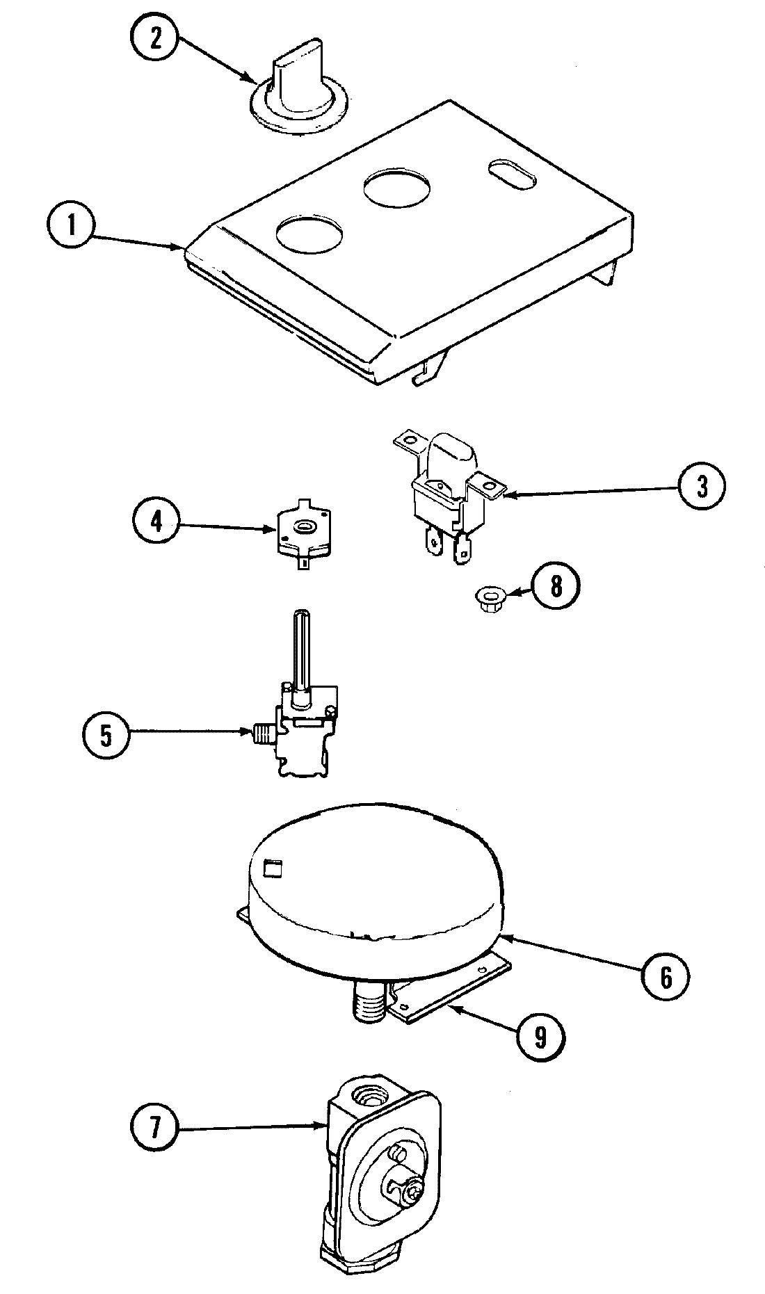
CVG4100B 03 – CONTROL PANELadmin2025-04-26T11:20:01+00:00CVG4100B 03 – CONTROL PANEL ProductsPositionProductNIMAY 71001645NIMAY 71001567NIMAY 71001568NIMAY 704384NIMAY 71001566NIMAY 71001643NIMAY 16000326NIMAY 710016441MAY 710016402WP71001641 Whirlpool Valve Knob3MAY 710015644WPY704513 Whirlpool Oven Igniter Switch5WPY04100188 Whirlpool Burner Valve6MAY Y041008077W11106948 Whirlpool Pressure Regulator8MAY 710015619MAY 710016429WP488234 Whirlpool Air Conditioner Screw9WP90767 Whirlpool Screw