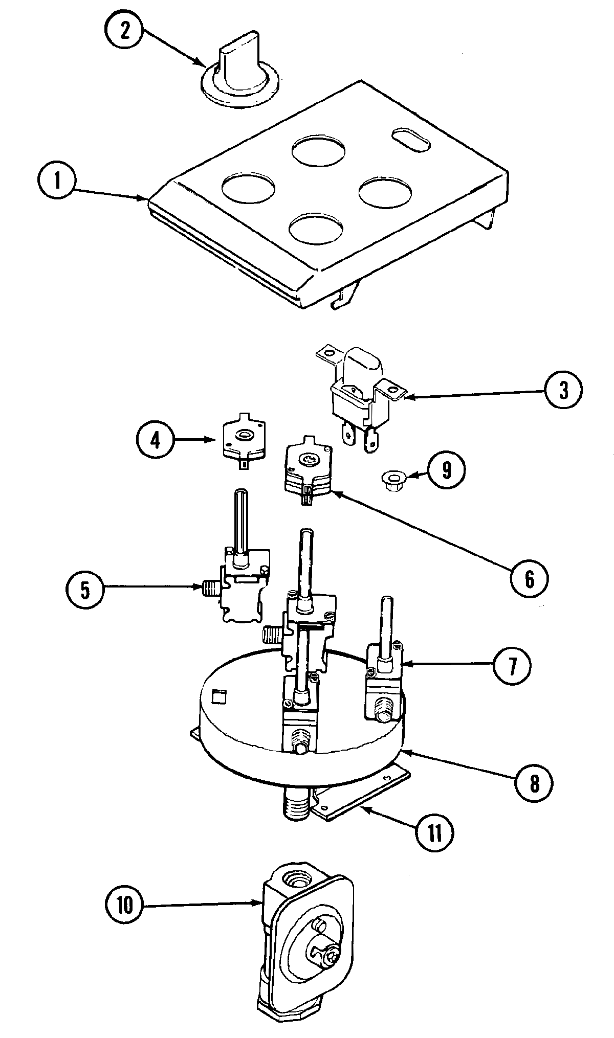
CVG4280S 03 – CONTROL ASSEMBLYadmin2025-04-26T11:18:41+00:00CVG4280S 03 – CONTROL ASSEMBLY ProductsPositionProductNIMAY 16000326NIMAY Y04100251NIMAY 71001566NIMAY 71001567NIMAY 71001568NIMAY 704556NIMAY 71001643NIMAY 71001644NIMAY 710016451MAY 710016512WP71001641 Whirlpool Valve Knob3MAY 710015644WPY704512 Whirlpool VA Switch5MAY 710032315WP7502P382-60 Whirlpool Burner Valve6WPY704513 Whirlpool Oven Igniter Switch7WPY04100188 Whirlpool Burner Valve8MAY Y7122739MAY 7100156110W11106948 Whirlpool Pressure Regulator11MAY 71001642