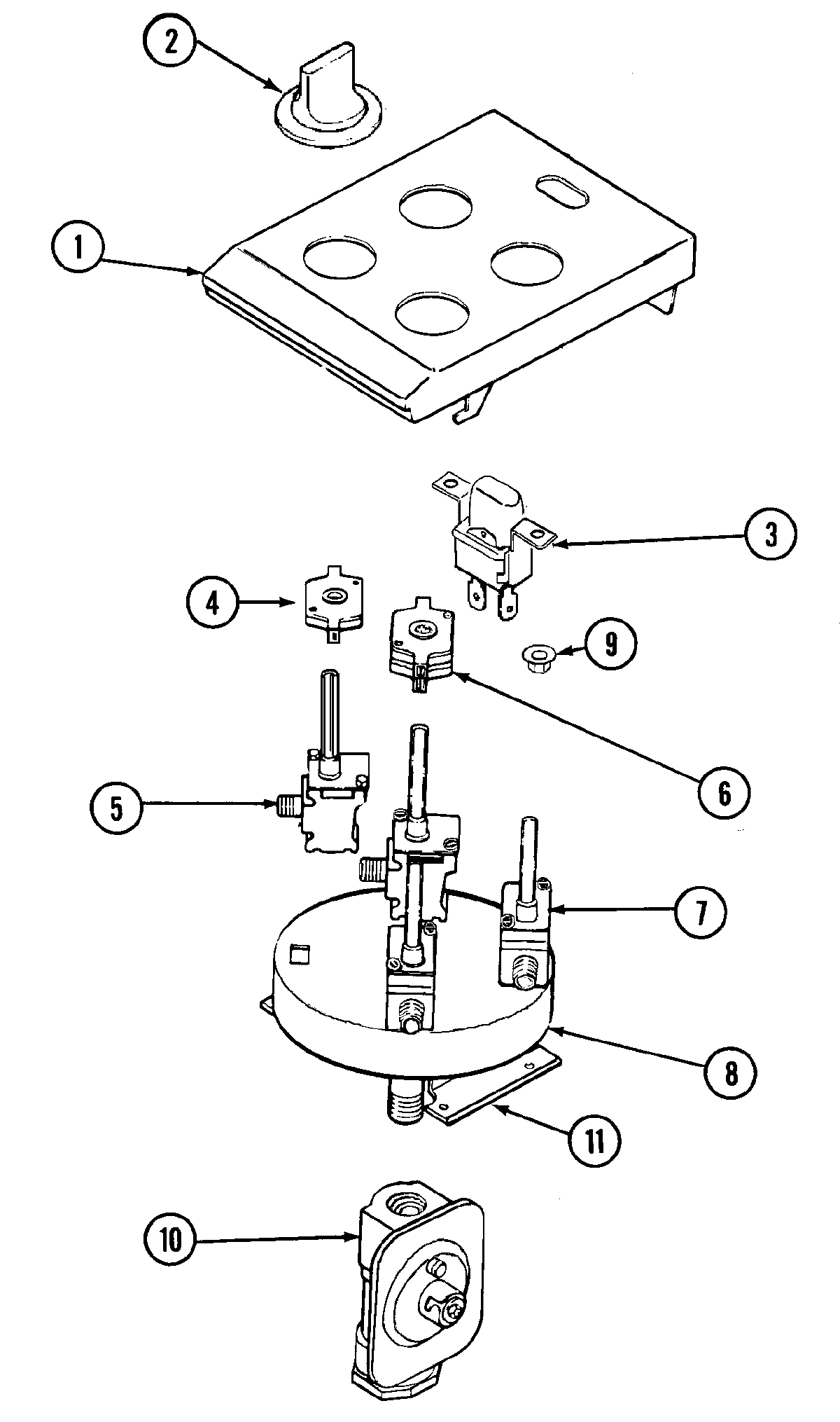
CVG4280W 03 – CONTROL ASSEMBLYadmin2025-04-26T11:20:08+00:00CVG4280W 03 – CONTROL ASSEMBLY ProductsPositionProductNIMAY 16000326NIMAY 71001645NIMAY 71001644NIMAY 71001643NIMAY 71001568NIMAY 71001567NIMAY 71001566NIMAY Y04100251NIMAY 7045561MAY 710016522WP71001653 Whirlpool Control Knob3MAY 710015634WPY704512 Whirlpool VA Switch5MAY 710032315WP7502P382-60 Whirlpool Burner Valve6WPY704513 Whirlpool Oven Igniter Switch7WPY04100188 Whirlpool Burner Valve8MAY Y7122739MAY 7100156110W11106948 Whirlpool Pressure Regulator11MAY 71001642