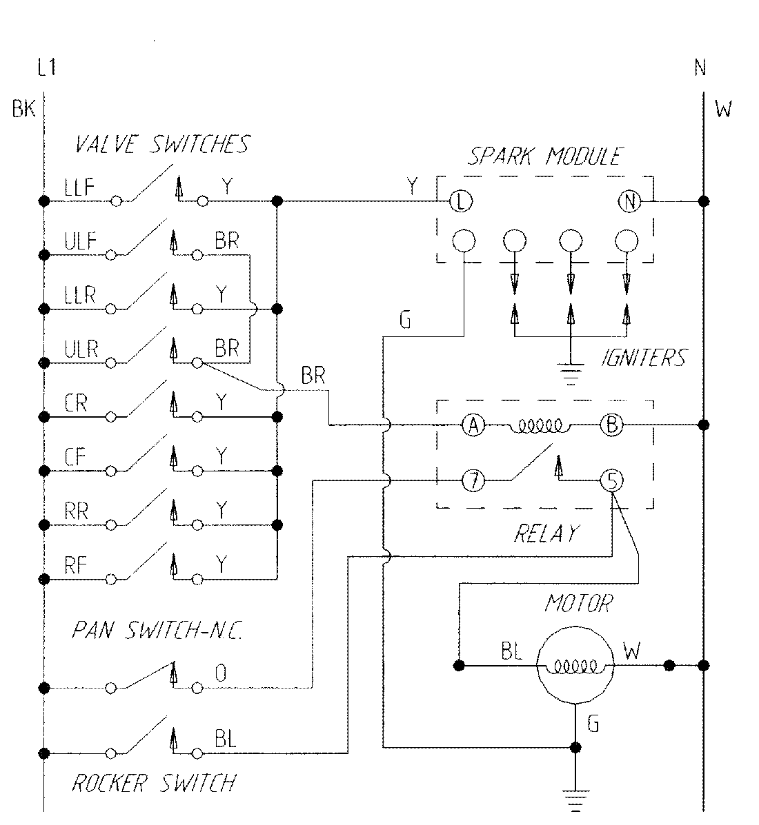
CVG4380PF 05 – WIRING INFORMATIONadmin2025-04-26T11:19:46+00:00CVG4380PF 05 – WIRING INFORMATION ProductsPositionProductNIMAY 15001406