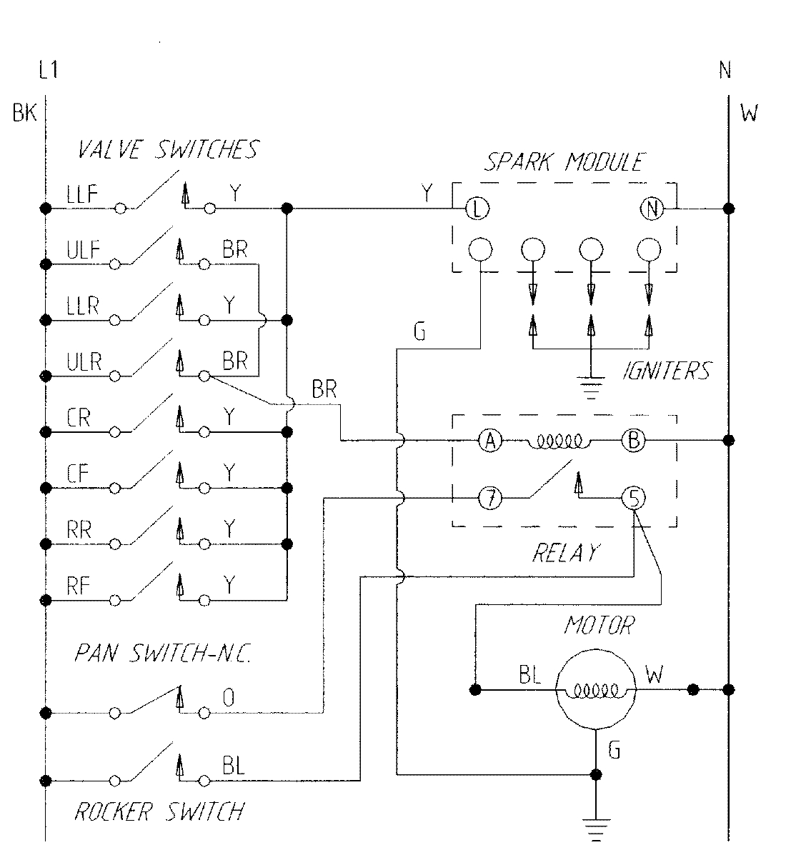
CVG4380PG 05 – WIRING INFORMATIONadmin2025-04-26T11:18:57+00:00CVG4380PG 05 – WIRING INFORMATION ProductsPositionProductNIMAY 15001406