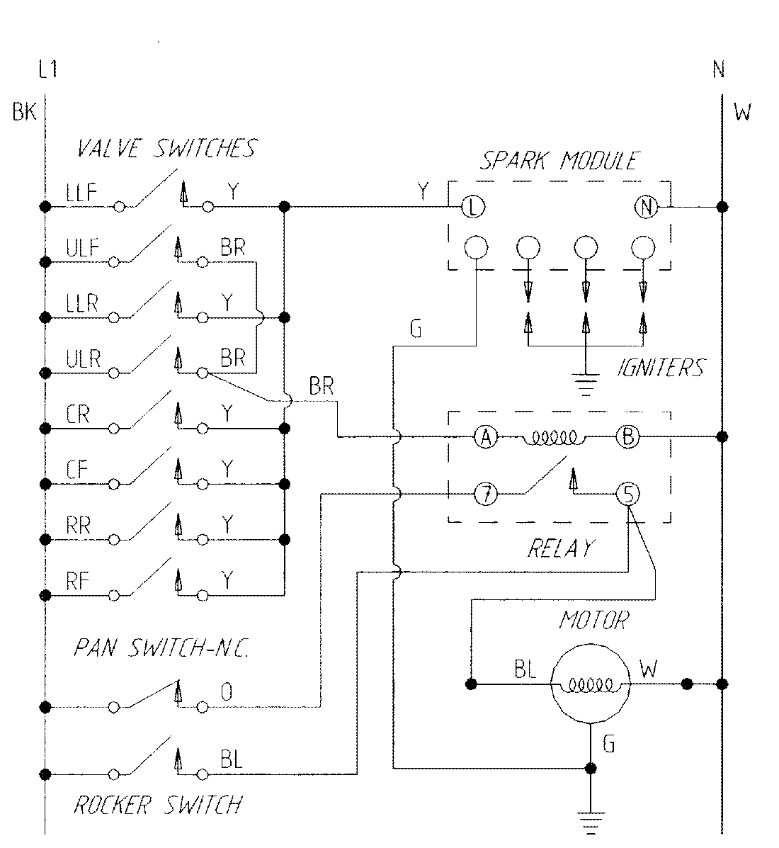
CVG4380PK 05 – WIRING INFORMATIONadmin2025-04-26T11:18:51+00:00CVG4380PK 05 – WIRING INFORMATION ProductsPositionProductNIMAY 15001406