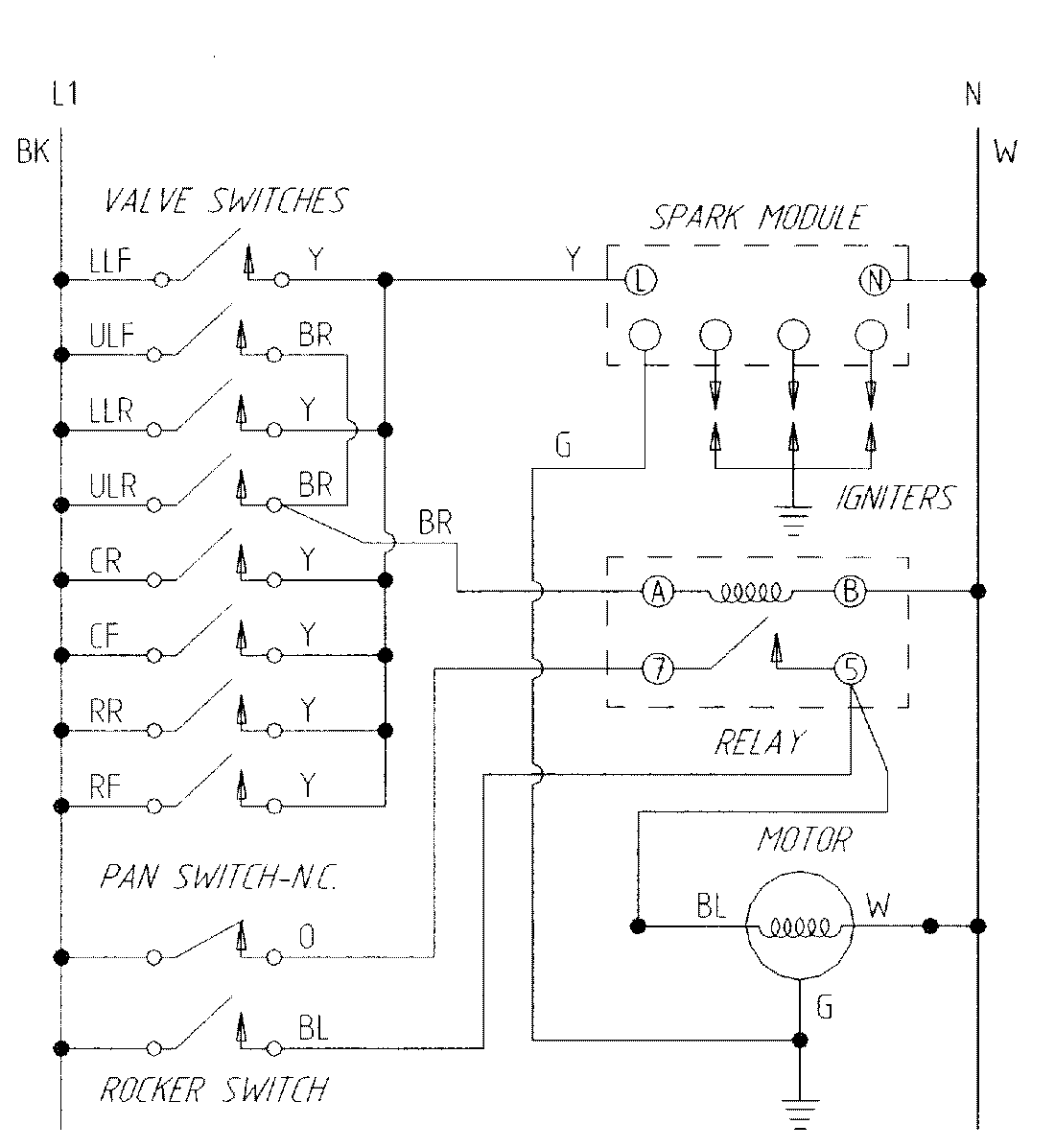
CVG4380PU 05 – WIRING INFORMATIONadmin2025-04-26T11:18:41+00:00CVG4380PU 05 – WIRING INFORMATION ProductsPositionProductNIMAY 15001406