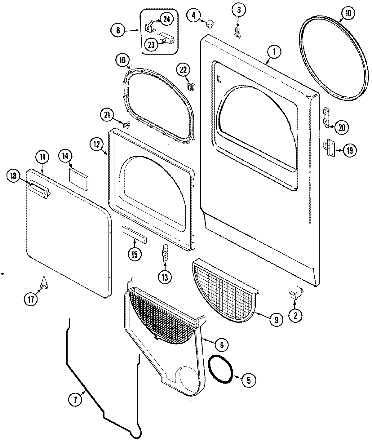
CYE2000AYW 04 – DOOR (SERIES 11)