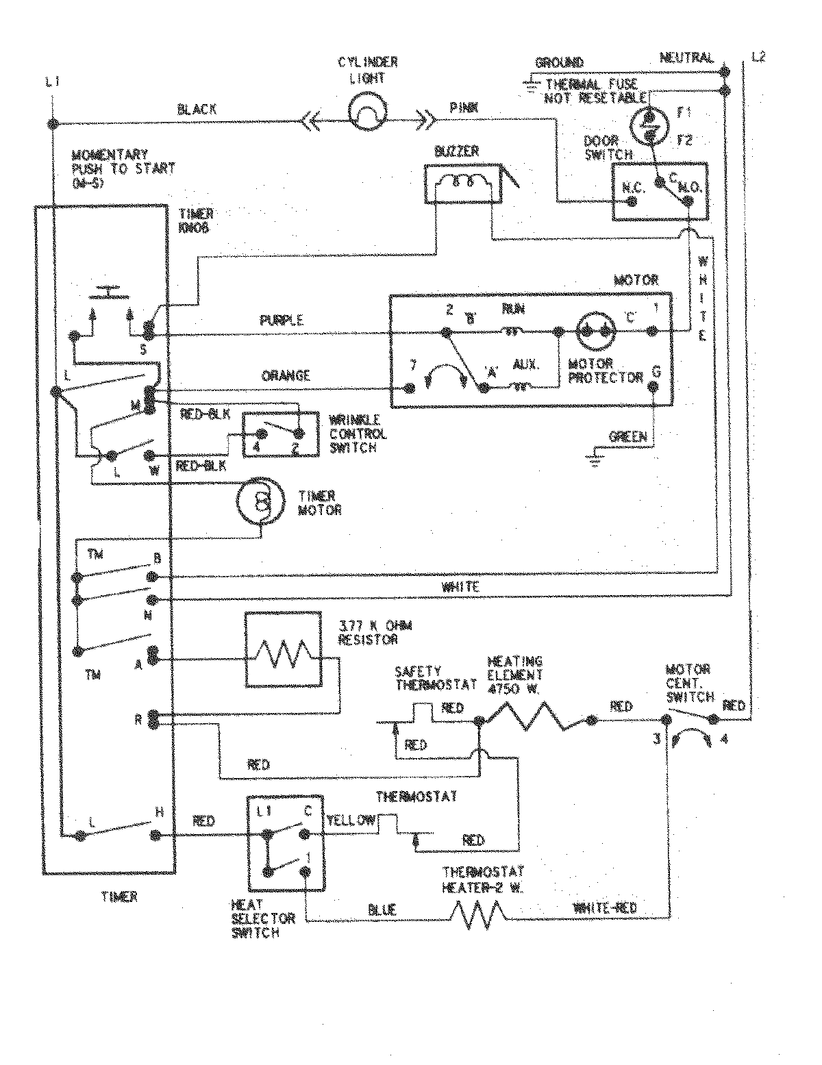
CYE4000AYA 07 – WIRING INFORMATIONadmin2025-04-26T08:55:02+00:00CYE4000AYA 07 – WIRING INFORMATION ProductsPositionProductNIMAY 15002632