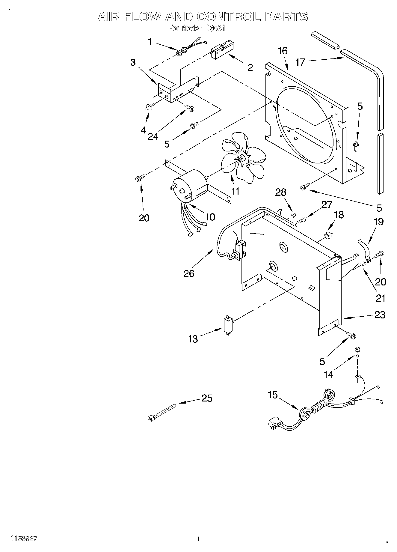
D30A1 02 – AIR FLOW AND CONTROLadmin2025-04-26T10:53:51+00:00D30A1 02 – AIR FLOW AND CONTROL
Products
| Position | Product |
|---|
| 1 | Light, Indicator |
| 2 | Humidistat, Control |
| 3 | Bracket, Humidistat |
| 4 | WPL 1162670 |
| 5 | Screw, 8 x 3/8 |
| 10 | Motor, Fan |
| 11 | Blade, Fan |
| 13 | Switch, Water Level Control |
| 14 | WPW10141604 Whirlpool Screw |
| 15 | Cord, Appliance |
| 16 | Plate, Orifice |
| 17 | Seal |
| 18 | Palnut, 3/8-32 |
| 19 | Spring, Water Level |
| 20 | WP488163 Whirlpool Refrigerator Screw |
| 21 | Washer, Repair (.045 Thickness) |
| 21 | Washer (Repair) (.062 Thickness) |
| 23 | Support |
| 24 | WP3177991 Whirlpool Screw |
| 25 | WPW10339879 Whirlpool Wire Tie |
| 26 | Thermostat, De-Icer |
| 27 | WP488234 Whirlpool Air Conditioner Screw |
| 28 | Clamp, Tube To Evaporator Mtg (2) |