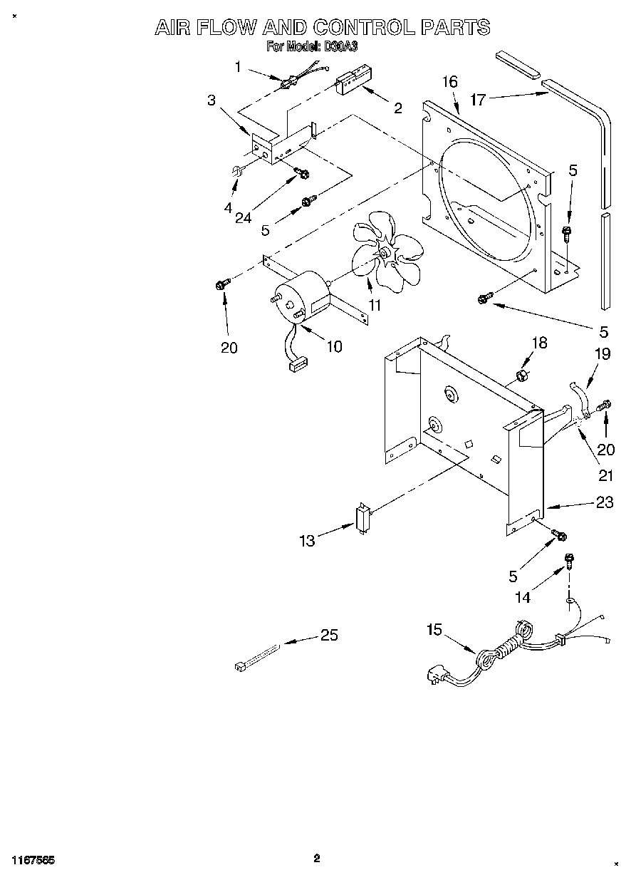
D30A3 02 – AIR FLOW AND CONTROLadmin2025-04-26T10:55:12+00:00D30A3 02 – AIR FLOW AND CONTROL ProductsPositionProduct1Light, Indicator2WPL 11660553Bracket, Humidistat4WPL 11626705WP489069 Whirlpool Compactor Screw10Motor, Fan11Blade, Fan13Switch, Water Level Control14WPW10141604 Whirlpool Screw15Cord, Appliance16WPL 116683817Seal18Palnut, 3/8-3219Spring, Water Level20Screw 8-18 x 5/821Washer, Repair (.045 Thickness)21Washer (Repair) (.062 Thickness)23Support24WP3177991 Whirlpool Screw25WPW10339879 Whirlpool Wire Tie