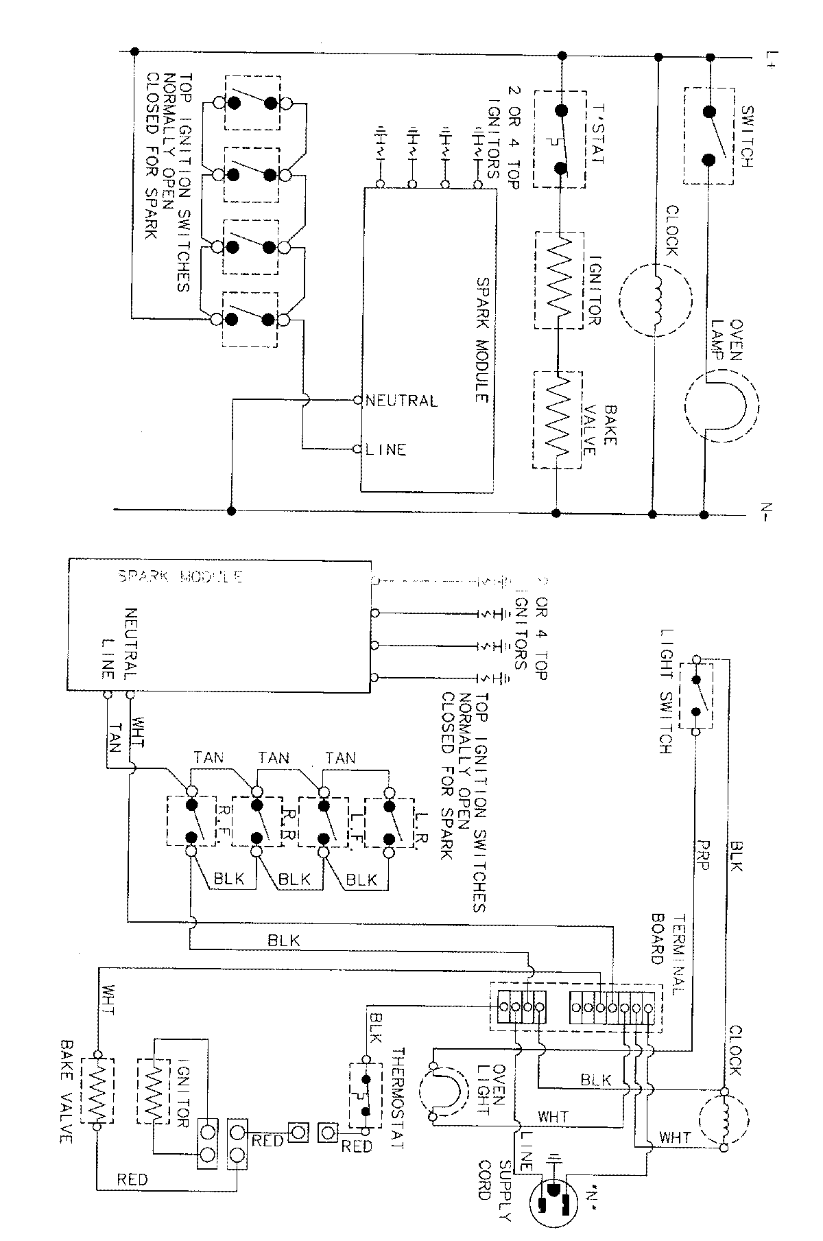
D31103SAAL 06 – WIRING INFORMATIONadmin2025-04-26T08:54:57+00:00D31103SAAL 06 – WIRING INFORMATION ProductsPositionProductNIMAY 15001767