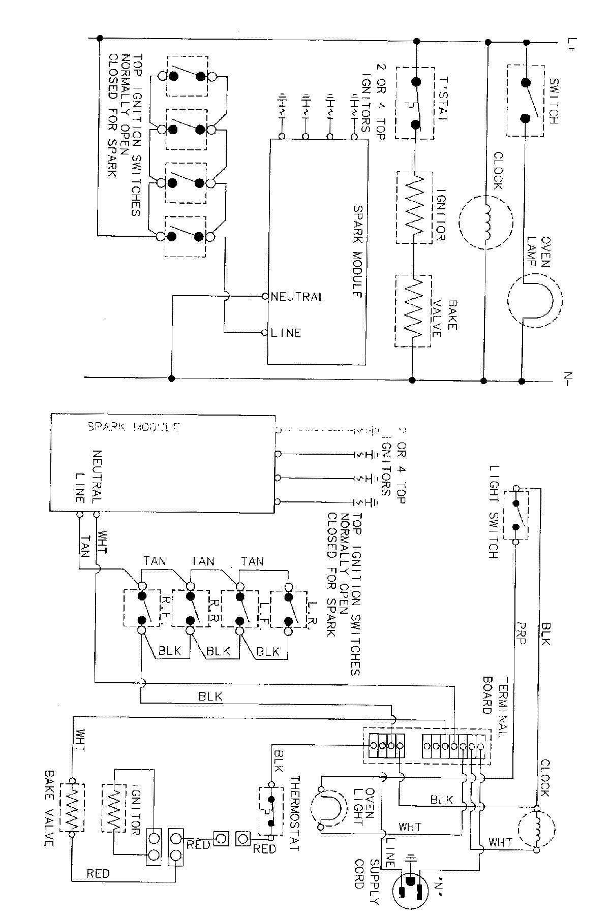
D31103SAWL 06 – WIRING INFORMATIONadmin2025-04-26T08:55:03+00:00D31103SAWL 06 – WIRING INFORMATION ProductsPositionProductNIMAY 15001767