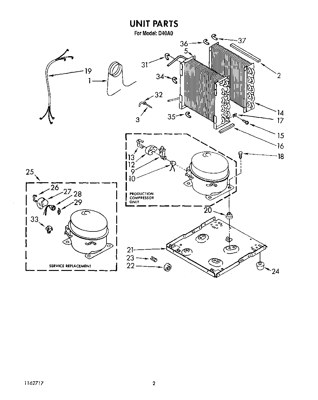
| 1 | Tube, Restrictor (Length 36.00``) |
| 2 | Seal, Evaporator Top |
| 3 | WP1162526 Whirlpool Air Conditioner Strainer |
| 5 | Condenser |
| 9 | Relay, Start (Production) |
| 10 | Overload (Production) |
| 12 | Cover, Terminal (Production) |
| 13 | Strap |
| 14 | Evaporator |
| 15 | Screw, 8 x 3/8 |
| 16 | Seal |
| 17 | 488660 Whirlpool Refrigerator Nut |
| 18 | Screw, 1/4-28 x 1`` (4) |
| 19 | Harness, Wiring |
| 20 | Grommet (4) |
| 21 | Base |
| 22 | Roller (2) |
| 23 | Pin, Roller (2) |
| 24 | Glide (2) |
| 25 | Compressor, Service (Complete Assembly) |
| 26 | Retainer, Cover (Service) |
| 27 | Cover, Terminal (Service) |
| 28 | Overload (Service) |
| 29 | Spring, Overload |
| 31 | Bend, Return Condenser (1) |
| 32 | Bend, Return Condenser (4) |
| 33 | Relay, Start (Service) |
| 34 | Bend, Return Condenser (10) |
| 35 | Bend Return |
| 36 | Bend, Return Evaporator (11) |
| 37 | Bend, Return Evaporator (4) |