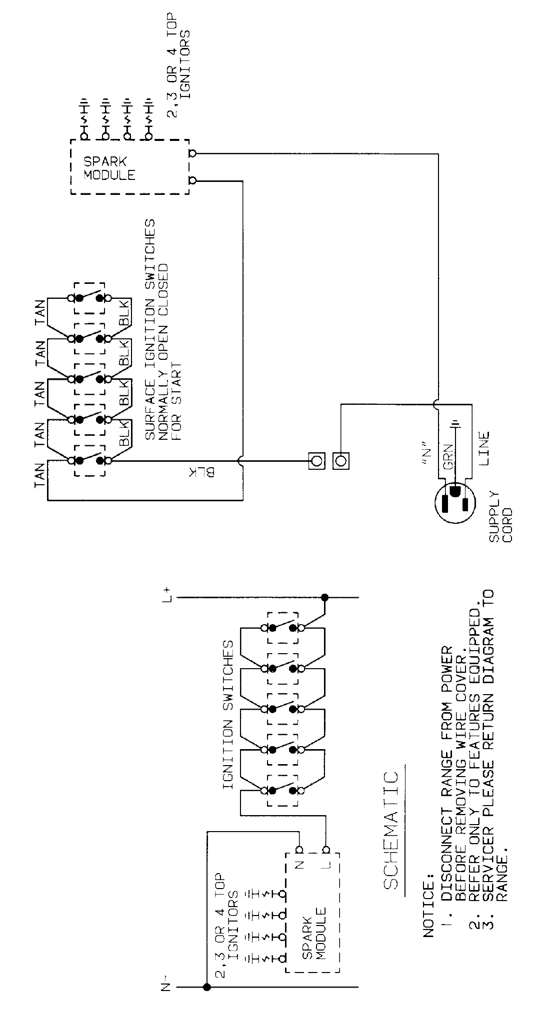
D8320PA-L 05 – WIRING INFORMATIONadmin2025-04-26T08:54:57+00:00D8320PA-L 05 – WIRING INFORMATION ProductsPositionProductNIMAY 15001198