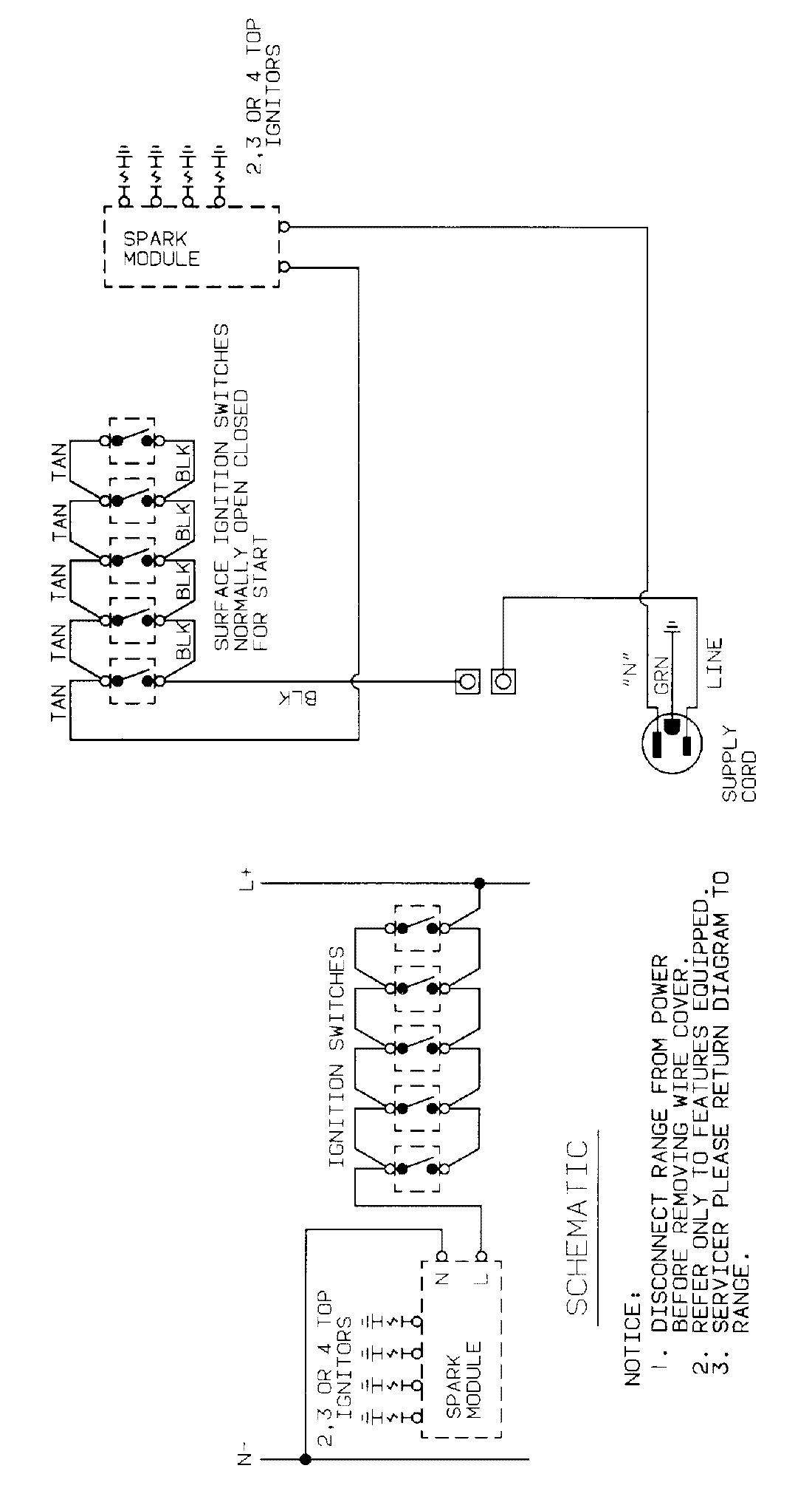
D8321TA-L 04 – WIRING INFORMATIONadmin2025-04-26T08:55:28+00:00D8321TA-L 04 – WIRING INFORMATION ProductsPositionProductNIMAY 15001198