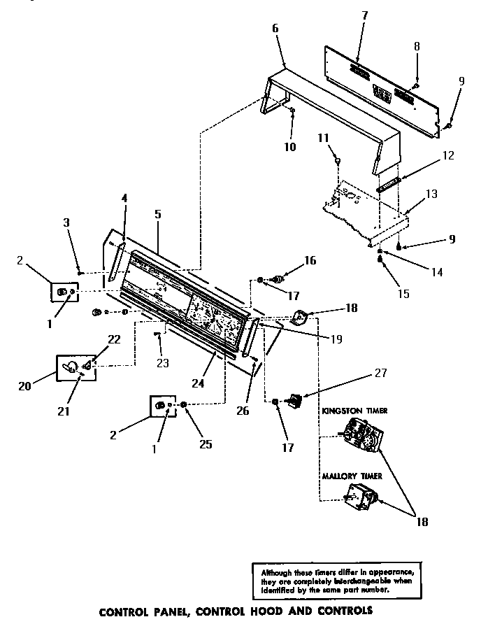
DA3001 10 – CONTROL PANEL, CONTROL HOOD & CONTROLSadmin2025-04-26T08:55:11+00:00DA3001 10 – CONTROL PANEL, CONTROL HOOD & CONTROLS ProductsPositionProduct1MAY 222442MAY 222453MAY 252324MAY 250725MAY 257986MAY 22881W6MAY 22881H6MAY 22881A7MAY 22890GR8WP3177991 Whirlpool Screw9MAY 2572410MAY 5403811MAY 2139312MAY 2302813SEE NOTE GROUND WIRE, GREEN14MAY 2049315MAY 5215017MAY 9117618MAY 2596618MAY 2482819MAY 2507320MAY 2485821MAY 2528522MAY 2485723MAY 2027224MAY 2507125MAY 2420526MAY 52864