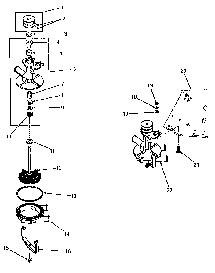
DA3080 01 – 23907 & 24304 PUMP ASSEMBLIESadmin2025-04-26T08:54:58+00:00DA3080 01 – 23907 & 24304 PUMP ASSEMBLIES ProductsPositionProductNIMAY 211P31MAY 239022MAY 239603MAY 238974MAY 238825MAY 264786MAY 239017MAY 238838MAY 238859MAY 2388710MAY 2390011MAY 2388612MAY 2389813MAY 2389214MAY 2387715MAY 2016116MAY 2387917MAY 2017618MAY 0318919MAY 2027520SEE NOTE GROUND WIRE, GREEN21MAY 2439022MAY 23907