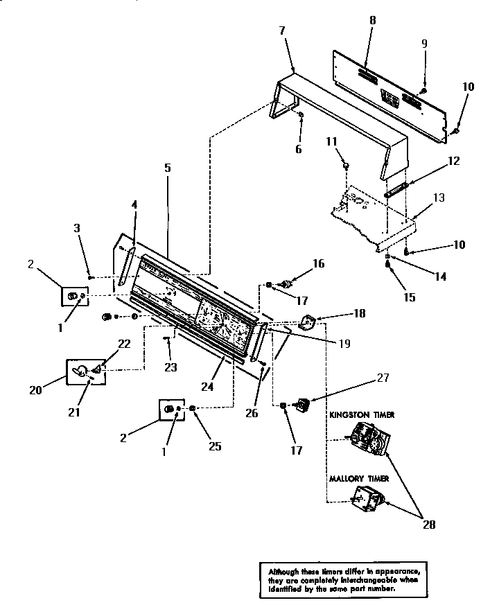
DA3500 07 – CONTROL PANEL, CONTROL HOOD AND CONTROLSadmin2025-04-26T08:55:11+00:00DA3500 07 – CONTROL PANEL, CONTROL HOOD AND CONTROLS ProductsPositionProduct1MAY 222442MAY 222453MAY 252324MAY 250725MAY 261696MAY 540387MAY 22881H7MAY 22881W7MAY 22881A8MAY 22890GR9WP3177991 Whirlpool Screw10MAY 2572411MAY 2139312MAY 2302813SEE NOTE GROUND WIRE, GREEN14MAY 2049315MAY 5215016MAY 2130017MAY 9117618MAY 2596619MAY 2507320MAY 2485821MAY 2528522MAY 2485723MAY 2027224MAY 2507125MAY 2420526MAY 5286428MAY 24828