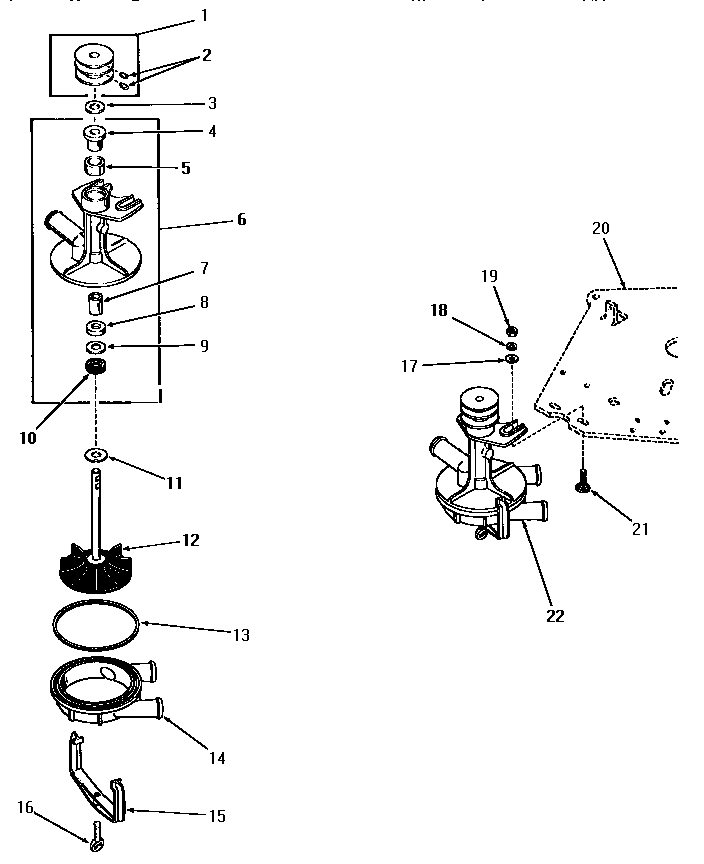
DA6120 01 – 23907 AND 24304 PUMP ASSEMBLIESadmin2025-04-26T08:55:12+00:00DA6120 01 – 23907 AND 24304 PUMP ASSEMBLIES ProductsPositionProductNIMAY 211P31MAY 239022MAY 239603MAY 238974MAY 238825MAY 264786MAY 239017MAY 238838MAY 238859MAY 2388710MAY 2390011MAY 2388612MAY 2389813MAY 2389214MAY 2387714MAY 2387615MAY 2387916MAY 2016117MAY 2017618MAY 0318919MAY 2027520SEE NOTE GROUND WIRE, GREEN21MAY 2439022MAY 23907