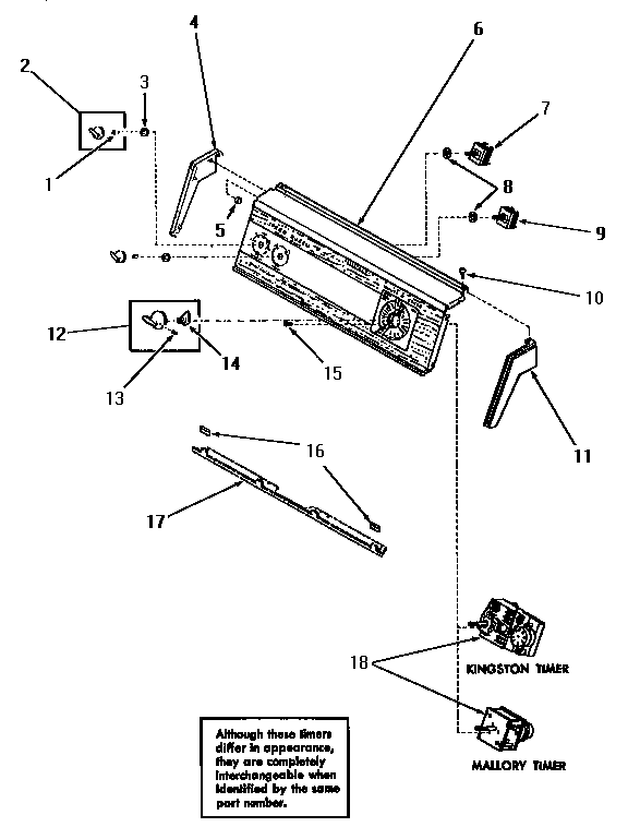
DA6120 12 – CONTROL PANEL, CONTROL HOOD & CONTROLSadmin2025-04-26T08:54:46+00:00DA6120 12 – CONTROL PANEL, CONTROL HOOD & CONTROLS ProductsPositionProduct1MAY 233922MAY 234023MAY 242054MAY 251245MAY 251266MAY 261657MAY 243928MAY 911769MAY 2130210MAY 2523211MAY 2512312MAY 2485813MAY 2528514MAY 2485715MAY 7021216MAY 2485917SEE NOTE GROUND WIRE, GREEN18MAY 24828