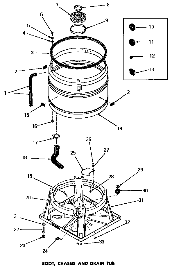
DA6121 09 – BOOT, CHASSIS & DRAIN TUBadmin2025-04-26T08:54:58+00:00DA6121 09 – BOOT, CHASSIS & DRAIN TUB ProductsPositionProduct1MAY 228182MAY 232583MAY 212334MAY 201125MAY 201116MAY 202597MAY 201298MAY 201079MAY 2010810MAY 2011811MAY 2030512MAY 2139313MAY 2165114MAY 2598315MAY 2325716MAY 2011517MAY 1018018MAY 2511219MAY Y2269320MAY Y2269021MAY Y2189922MAY 2040923MAY 2174924MAY 2283725MAY 2190526MAY 2027527MAY 0318928MAY 0242229MAY 2016230MAY 2019531MAY 2602832MAY Y2268933MAY 26012