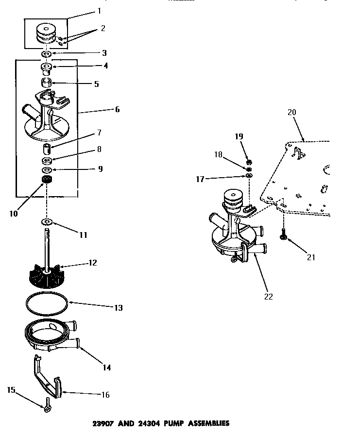
DA9011 01 – 23907 & 24304 PUMP ASSEMBLIES