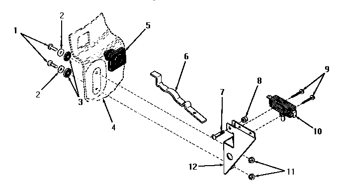
DA9041 10 – DOOR SAFETY SWITCHadmin2025-04-26T08:56:21+00:00DA9041 10 – DOOR SAFETY SWITCH ProductsPositionProduct1MAY 210812MAY 204923MAY 029284SEE NOTE GROUND WIRE, GREEN5MAY 235916MAY 235927MAY Y023708MAY 220019MAY 5178310MAY 2354011MAY 2395112MAY 22783