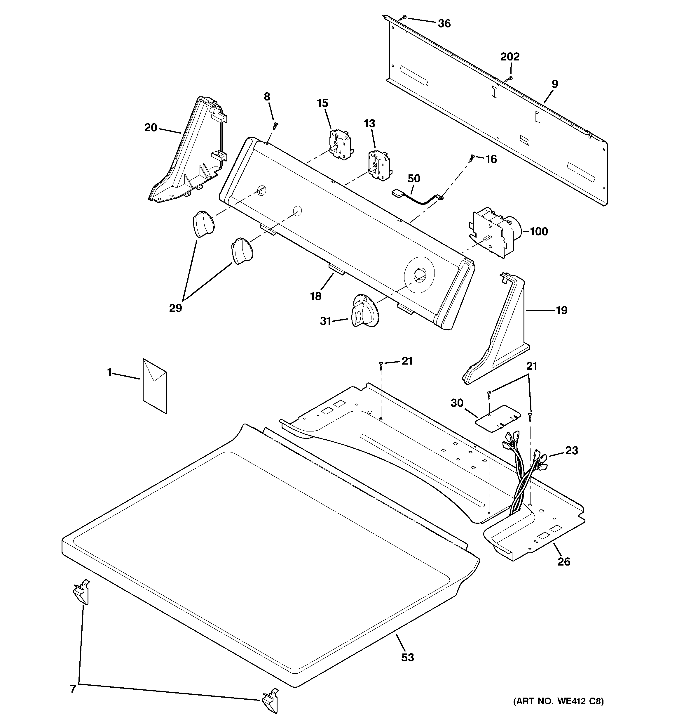
DBL333GB5CC CONTROLS & TOP PANELadmin2025-04-26T08:34:51+00:00DBL333GB5CC CONTROLS & TOP PANEL ProductsPositionProduct1GEN 49-901051GEN 31-154967CLIP-TOP FRONT/PANEL8SCR 8-18 X .50 FLT HD/SN9GEN WE20X1001013WE4X881 GE Dryer Rotary Start Switch15SELECTOR SWITCH ASM16GEN WE02X1005018GEN WE19X1005919GEN WE19X1006020GEN WE19X1006121SCREW PANEL TO EVAP23GEN WE08X1003226GEN WE19X1003529WH01X10060 GE Washer Dryer Control Knob and Clip Assembly30GEN WE01X1003431GEN WE01X1014636GEN WH02X1000750GEN WE08X1000653GEN WE20X10048100WH12X10079 GE Timer202SCREW QUAD PH AB8-18X1/2