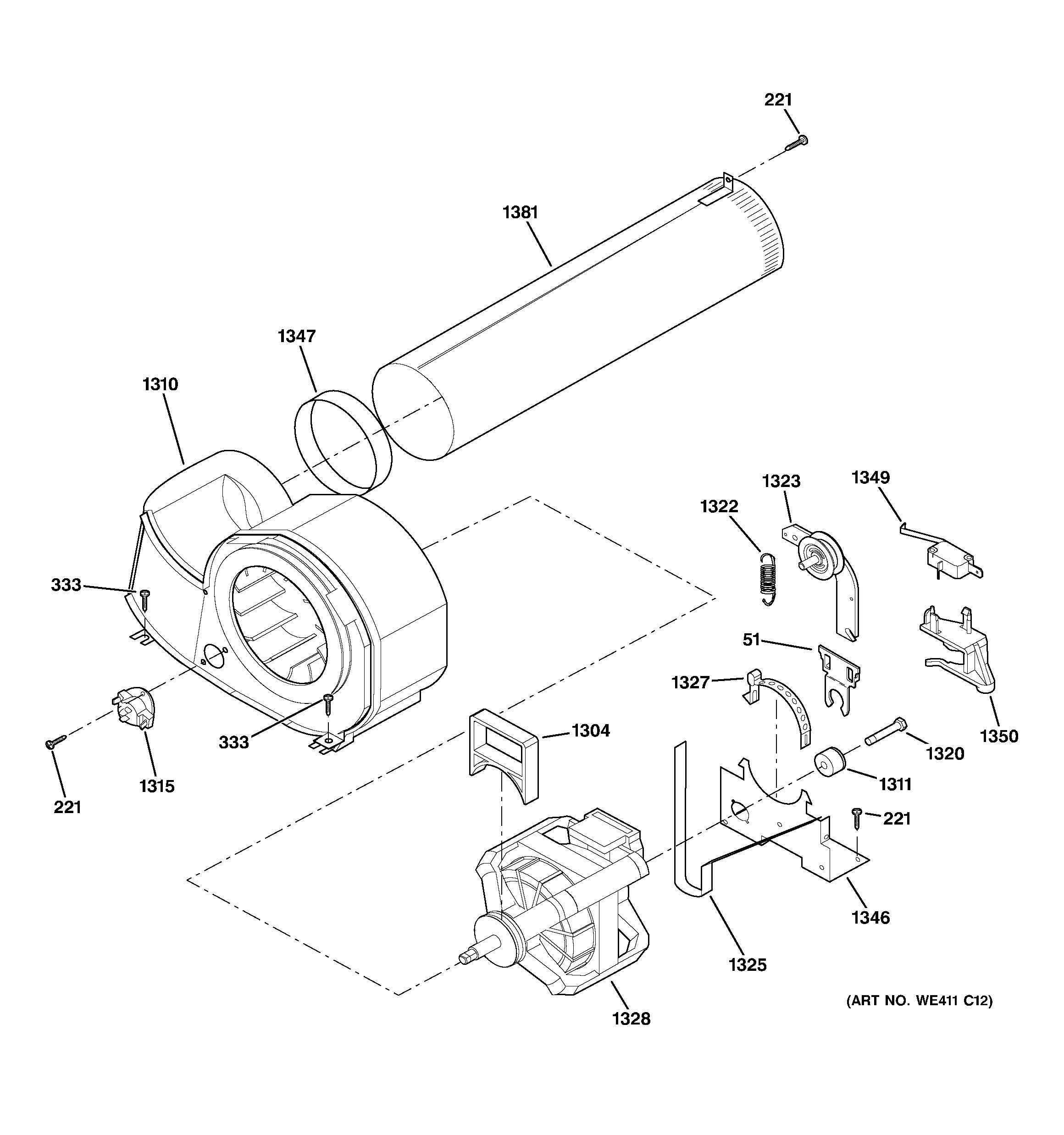
DBL333GB5CC MOTOR
Products
| Position | Product |
|---|---|
| 51 | GEN WE02X10053 |
| 221 | SCREW PAN HD.8-18ABX.375 |
| 333 | GEN WH02X10028 |
| 1304 | GEN WE01X10016 |
| 1310 | GEN WE14X10025 |
| 1311 | SPACER IDLER |
| 1315 | THERMOSTAT CONTROL |
| 1320 | SCREW HX HD 1/4-20TX1.25 |
| 1322 | SPRING IDLER |
| 1323 | GEN WE01X10152 |
| 1325 | WE12X10009 GE Dryer Belt |
| 1327 | GEN WE01X10003 |
| 1328 | WE17X23466 GE Motor and Pulley Kit |
| 1346 | GEN WE13X10026 |
| 1347 | GEN WE09X10003 |
| 1349 | GEN WE04X10096 |
| 1350 | GEN WE13X10008 |
| 1381 | GEN WE14X10007 |