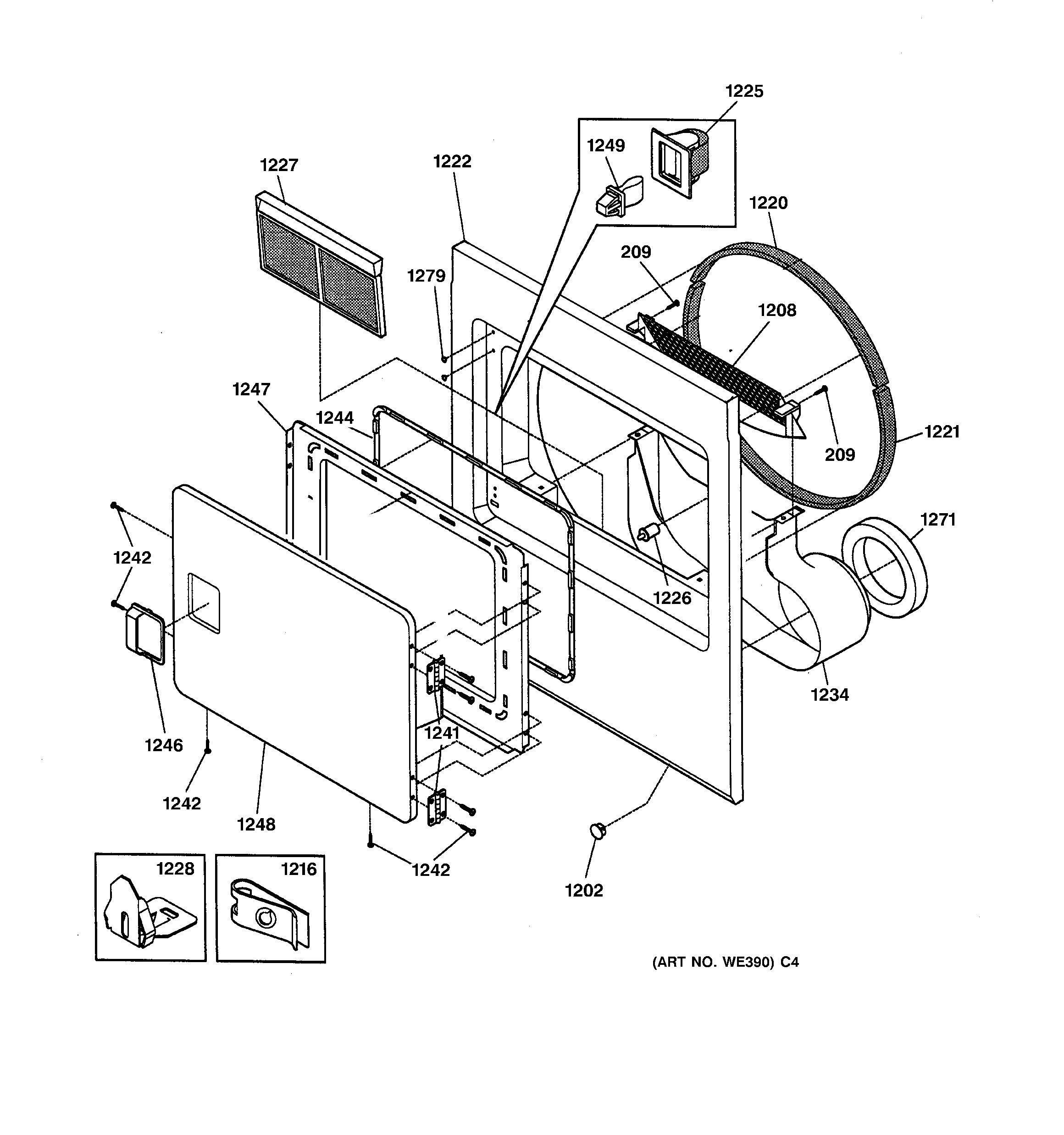
DBL333GY0AA FRONT PANEL & LINT FILTER

DBL333GY0AA FRONT PANEL & LINT FILTER