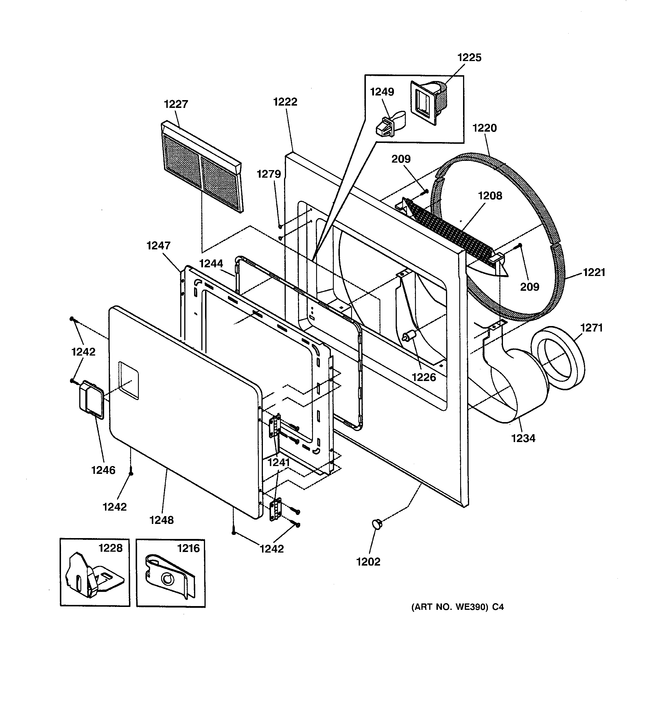
DBL333GY0WW FRONT PANEL & LINT FILTER

DBL333GY0WW FRONT PANEL & LINT FILTER