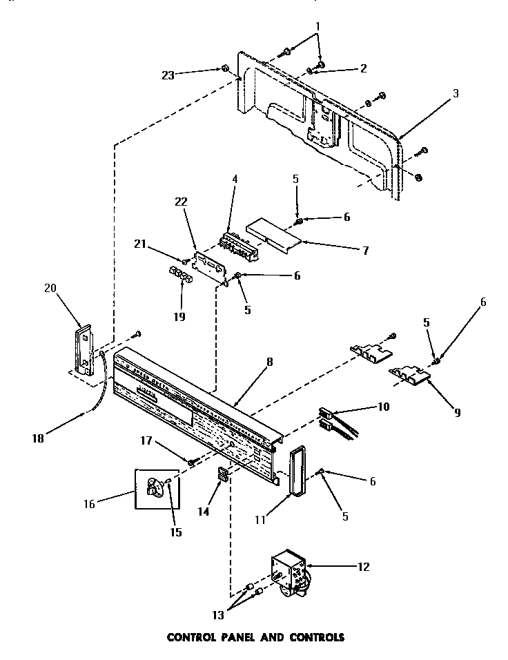
DC5610 05 – CONTROL PANEL & CONTROLSadmin2025-04-26T08:56:28+00:00DC5610 05 – CONTROL PANEL & CONTROLS ProductsPositionProduct1MAY 650222MAY 211474MAY M1101385MAY Y202786MAY 517787MAY M1101288MAY M1100019MAY M11012710MAY M11013711MAY M11012312MAY M11012513MAY M11013614MAY M11013315MAY M11020216MAY M11012117MAY M11014618SEE NOTE GROUND WIRE, GREEN19MAY M11012620MAY M11012221MAY 5178222MAY M11012923MAY M110134