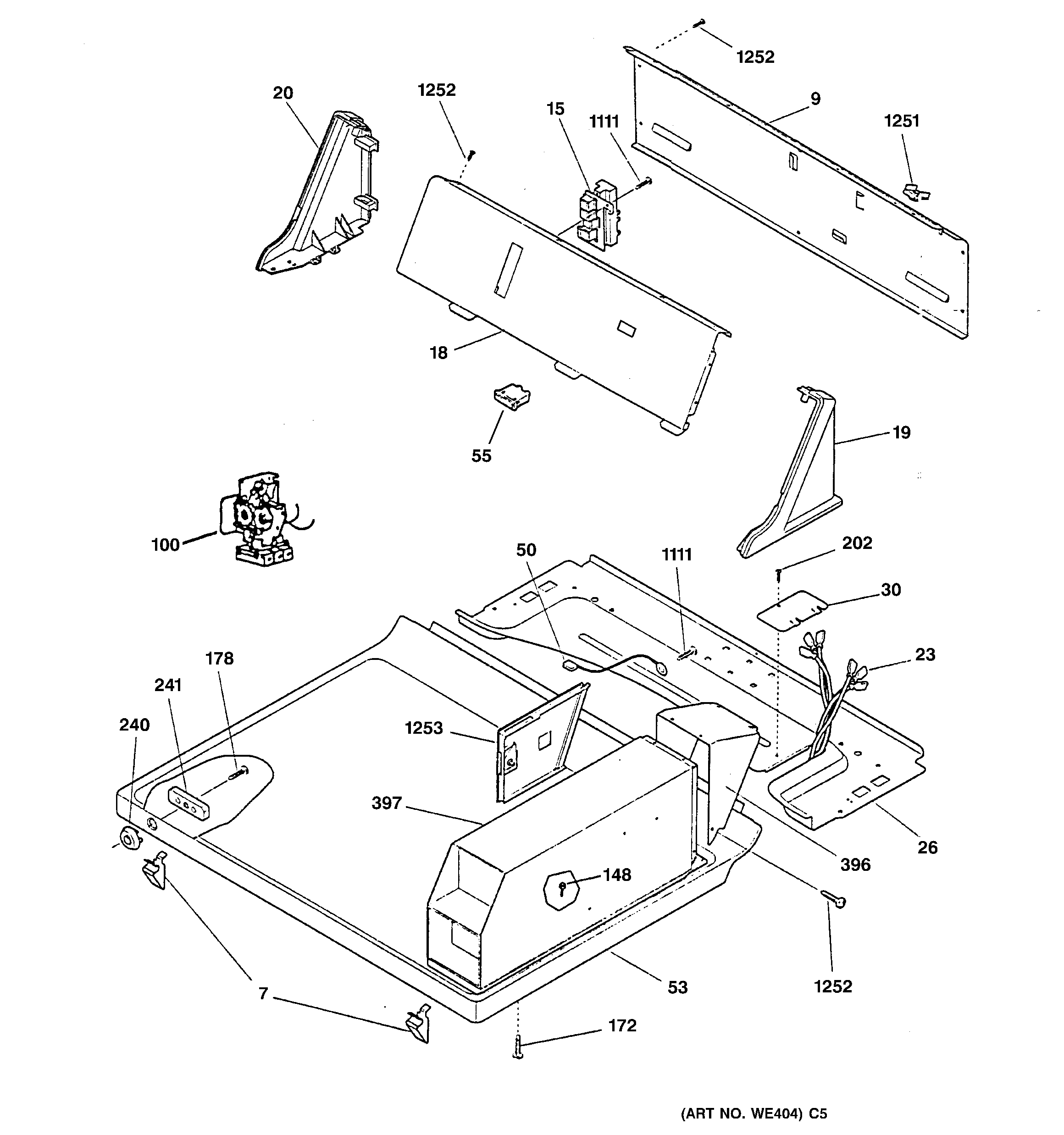
DCB330EB0WC CONTROLS & TOP PANELadmin2025-04-26T08:34:54+00:00DCB330EB0WC CONTROLS & TOP PANEL ProductsPositionProduct7CLIP-TOP FRONT/PANEL9GEN WE20X1001015GEN WE04X1004718GEN WE19X1003619GEN WE19X1006520GEN WE19X1006423GEN WE08X1004026GEN WE19X1003530GEN WE01X1003450GEN WE08X1000653GEN WE20X1001855GEN WE04X10050100GEN WE04X0886148WB1X536 GE Oven Screw172GEN WE02X10025178GEN WE02X10026202SCREW PANEL TO EVAP240GEN WE01X10052241GEN WE01X10053396GEN WE20X10021397GEN WE20X100221111GEN WE02X100501251GEN WE02X100271252GEN WE02X100281253GEN WE20X10023