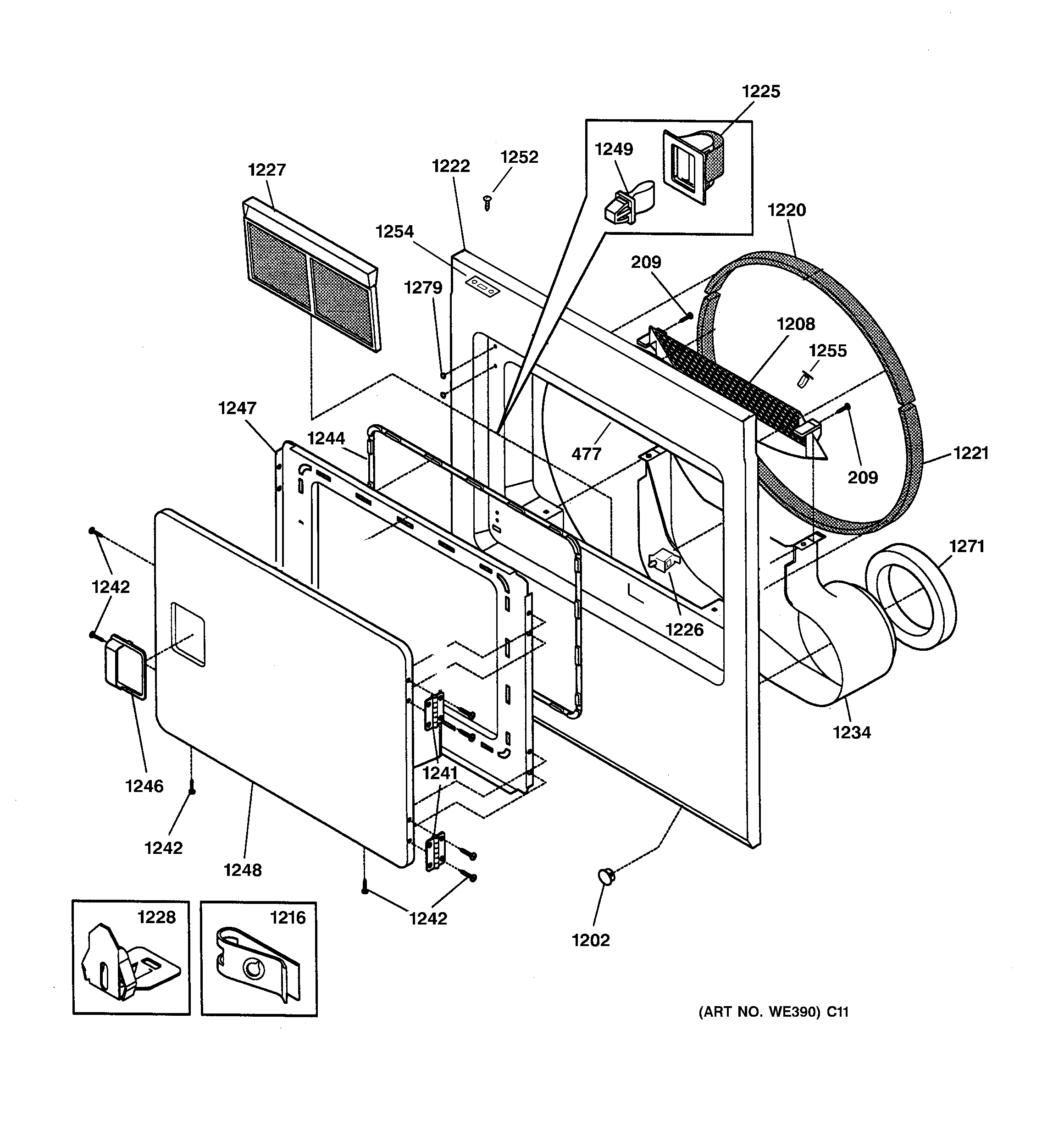
DCB330GB4KC FRONT PANEL & DOOR