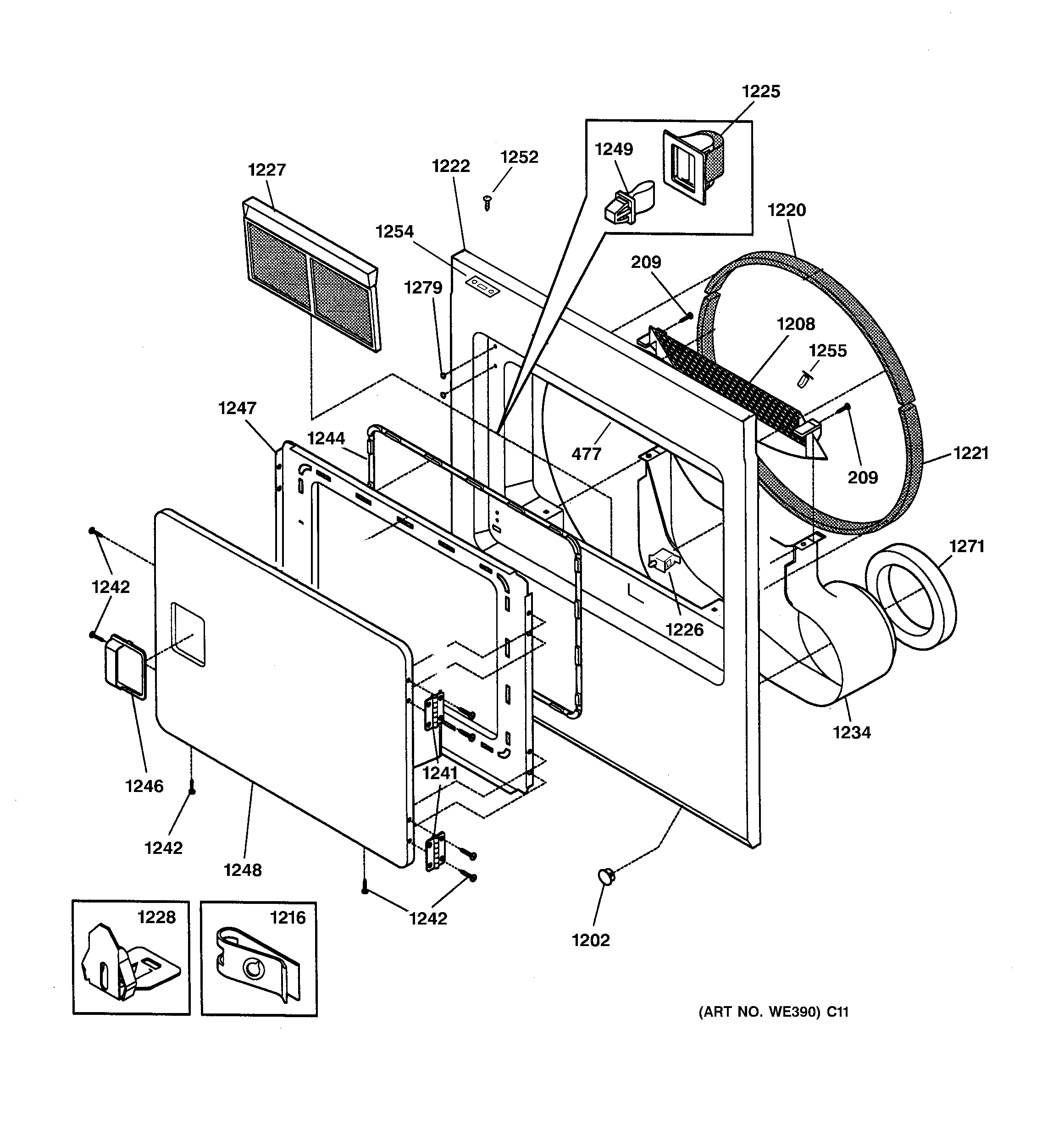
DCB330GB4WC FRONT PANEL & DOOR