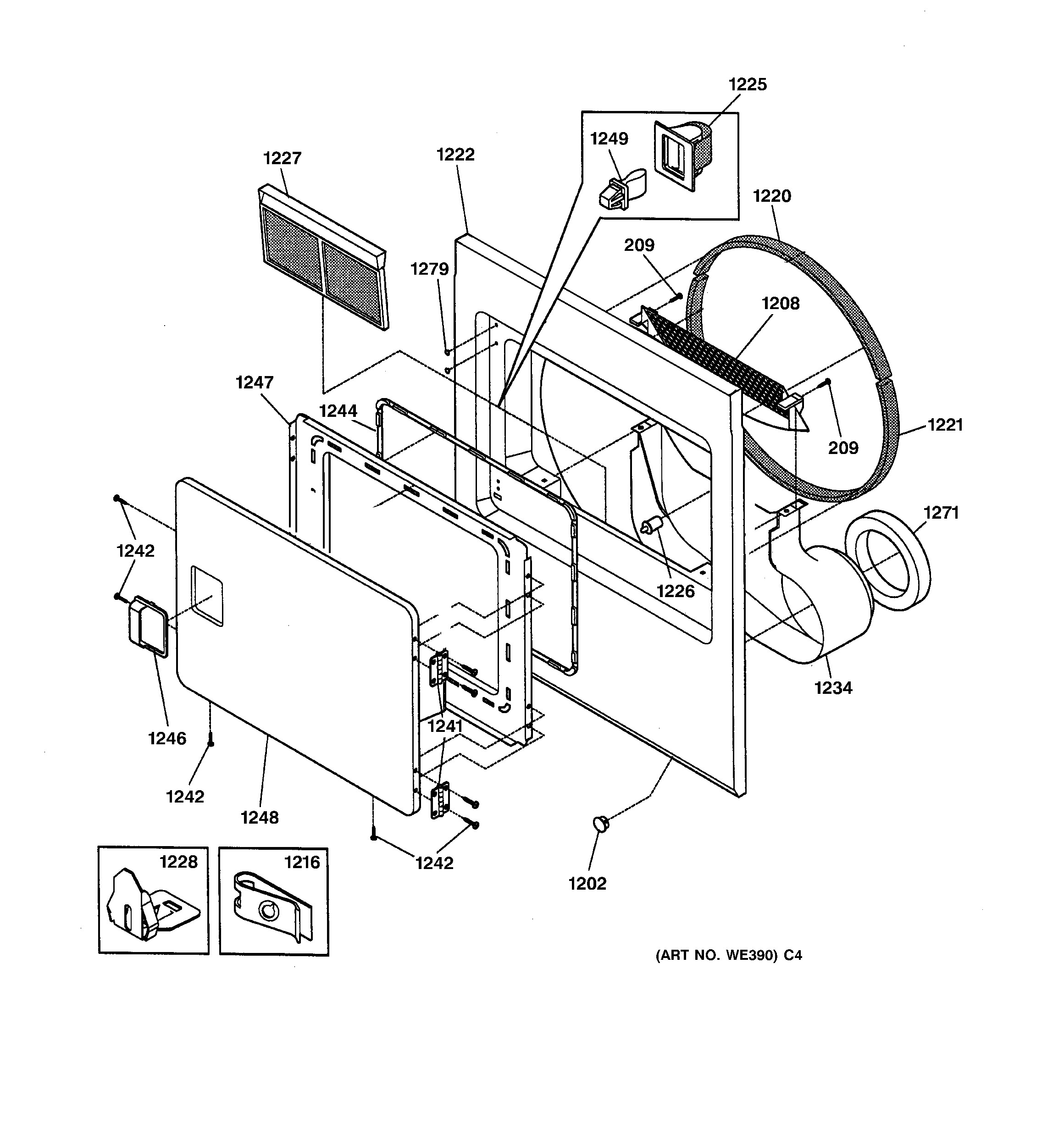
DCL333EA0WW FRONT PANEL & LINT FILTER
Products
| Position | Product |
|---|---|
| 209 | SCREW-LOCK 10-16X.50 |
| 1202 | PLUG WH |
| 1208 | GEN WE18X10001 |
| 1216 | GEN WE02X10010 |
| 1220 | WE03X10001 GE Drum Glide |
| 1221 | GEN WE09X0105 |
| 1222 | GEN WE20X10012 |
| 1225 | CATCH DOOR |
| 1226 | GEN WE04X10034 |
| 1227 | GEN WE18X10002 |
| 1228 | GEN WE02X0361 |
| 1234 | GEN WE14X10005 |
| 1241 | GEN WE01X10012 |
| 1242 | SCREW, 8-18 AB X .44 |
| 1244 | GASKET DOOR |
| 1246 | HANDLE-DOOR WH |
| 1247 | PANEL-INNER DOOR |
| 1248 | DOOR-OUTER WH |
| 1249 | STRIKE DOOR |
| 1271 | GEN WE09X10002 |
| 1279 | GEN WE01X10011 |