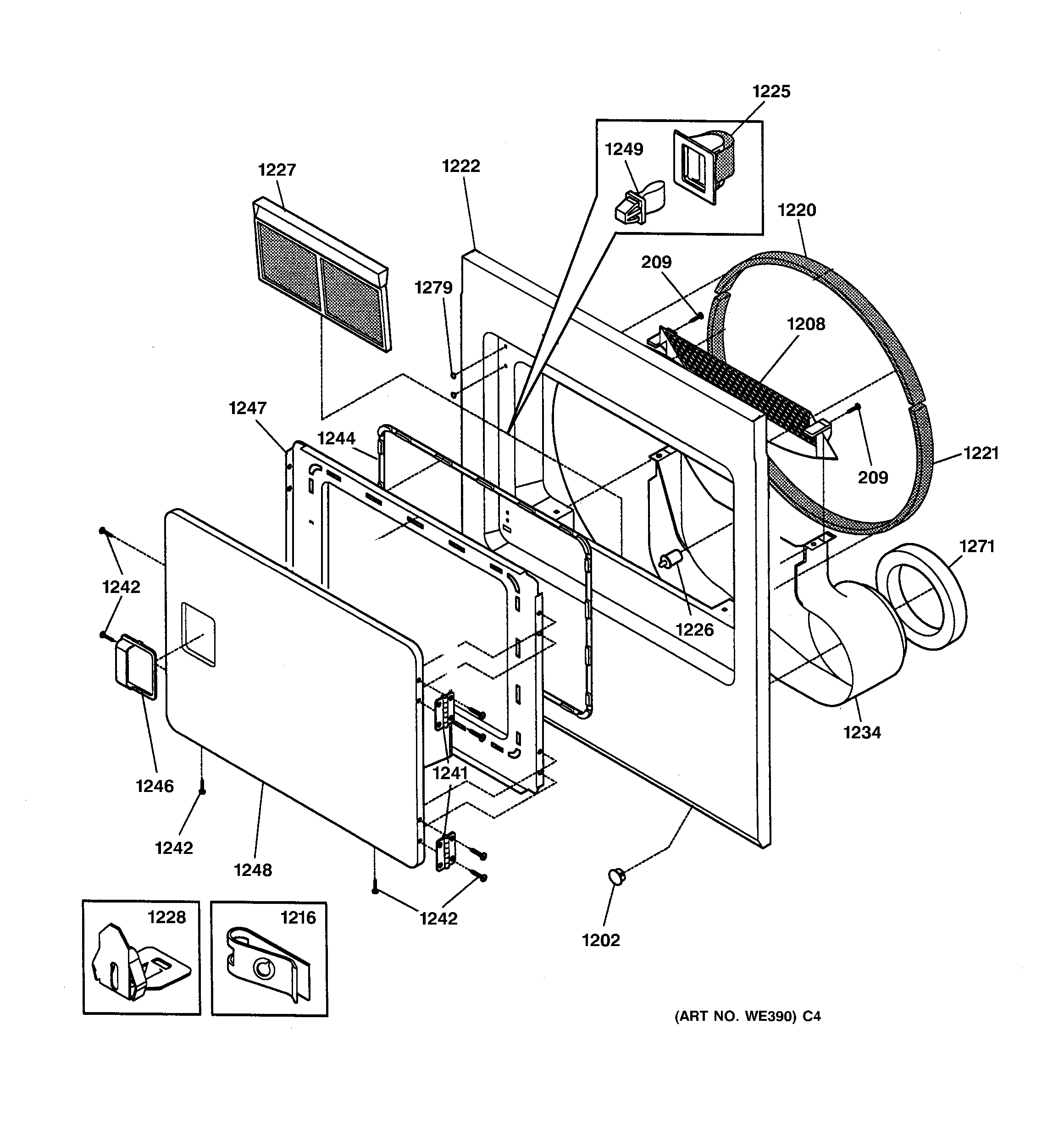
DCL333EY0AA FRONT PANEL & DOOR