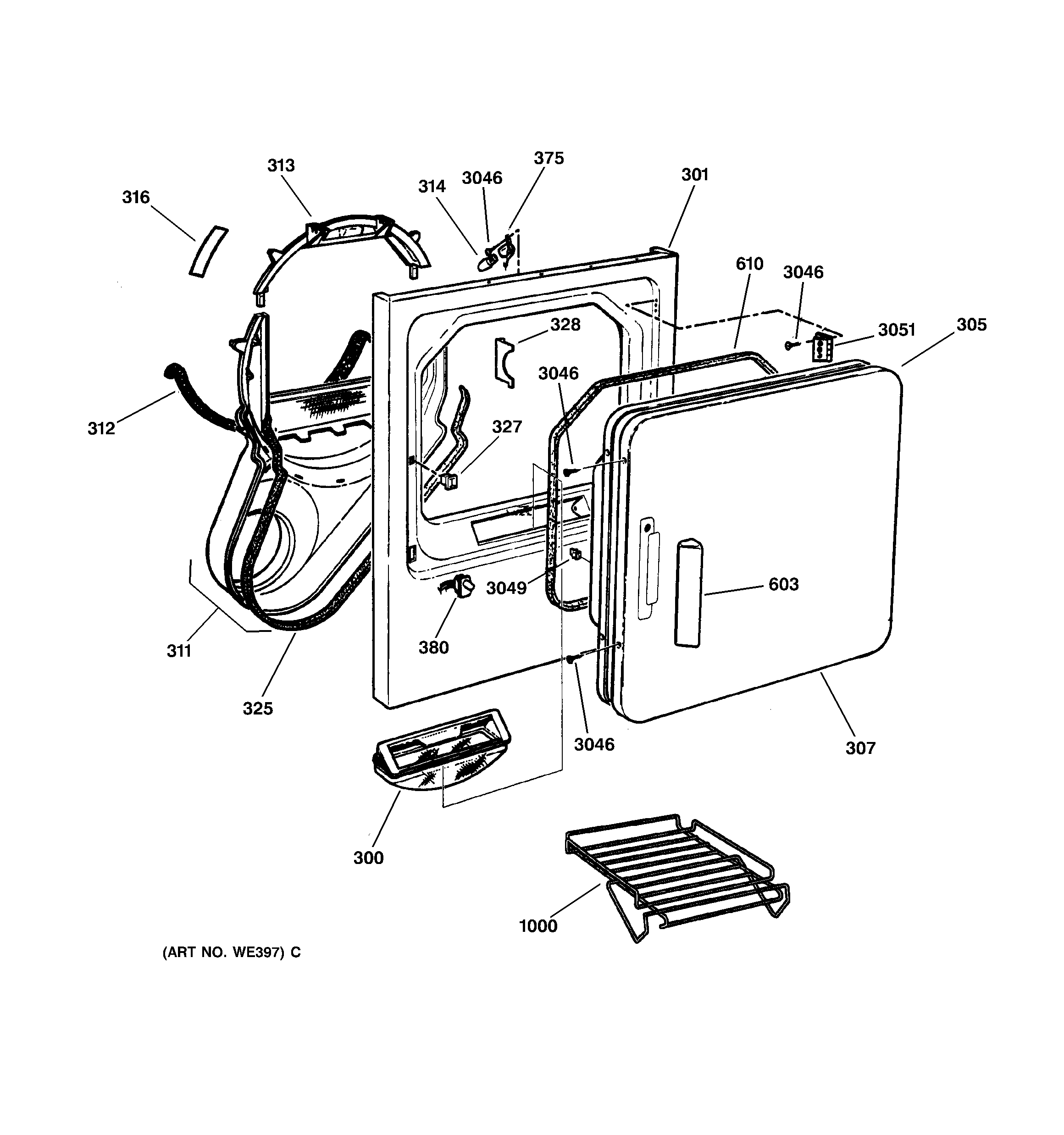
DCSR473GV0WW FRONT PANEL & DOOR