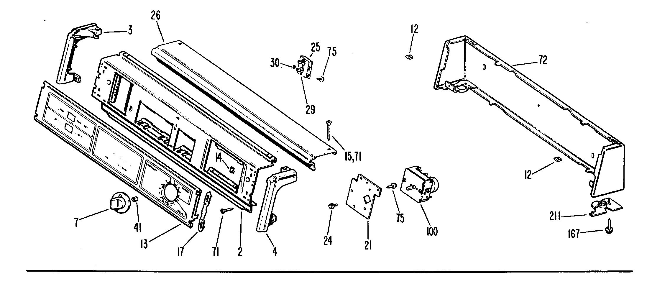
DDE5806MAL 0admin2025-04-26T08:35:21+00:00DDE5806MAL 0 ProductsPositionProduct2GEN WE19X07193GEN WH42X21994GEN WH42X22007GEN WE01X097812SPEEDNUT13GEN WE19X089314GEN WE01X076215GEN WE02X036717GEN WH01X200821GEN WE13X007625GEN WE04X035226GEN WH42X220129GEN WH01X139430GEN WE01X083541GEN WE01X0980?71GEN WH02X094772GEN WH46X021572GEN WH46X021172GEN WH46X021275WH2X930 GE Screw100GEN WE04X0738167GEN WE02X0186211GEN WE01X0553543WE3X75 GE Dryer Rear Drum Bearing9999GEN 49-96649999GEN 31-24759999GEN 31-1829