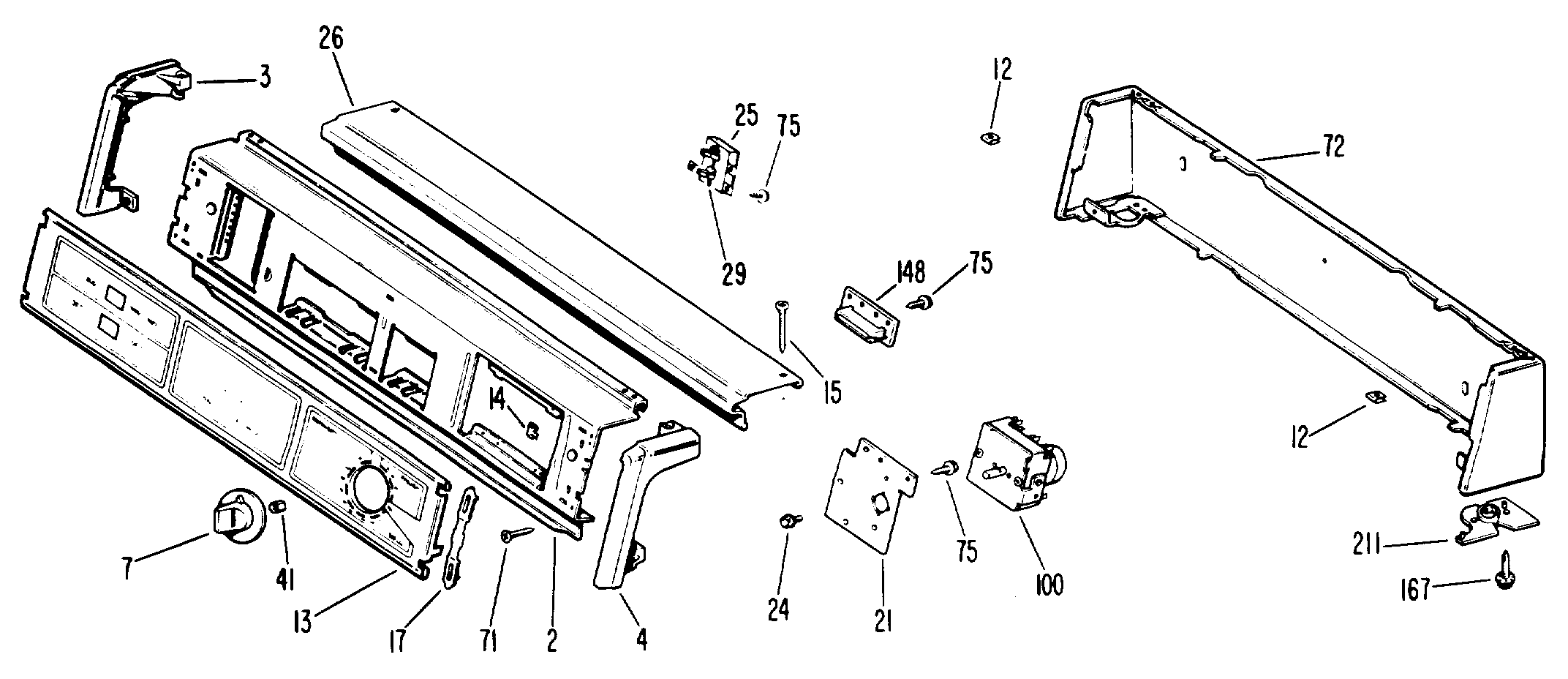
DDE7100MAL 0admin2025-04-26T08:35:08+00:00DDE7100MAL 0 ProductsPositionProduct2GEN WE19X07193GEN WH42X21994GEN WH42X22007GEN WE01X097812SPEEDNUT13GEN WE19X091214GEN WE01X076215GEN WE02X036717GEN WH01X200821GEN WE13X007625GEN WE04X076226GEN WH42X220129GEN WH01X139441GEN WE01X0980?71GEN WH02X094772GEN WH46X021572GEN WH46X021272GEN WH46X021175WH2X930 GE Screw100GEN WE04X0622100GEN WE04X0759148RESISTER & BOARD167GEN WE02X0186211GEN WE01X05539999GEN 49-96939999GEN 31-18279999GEN 31-2525