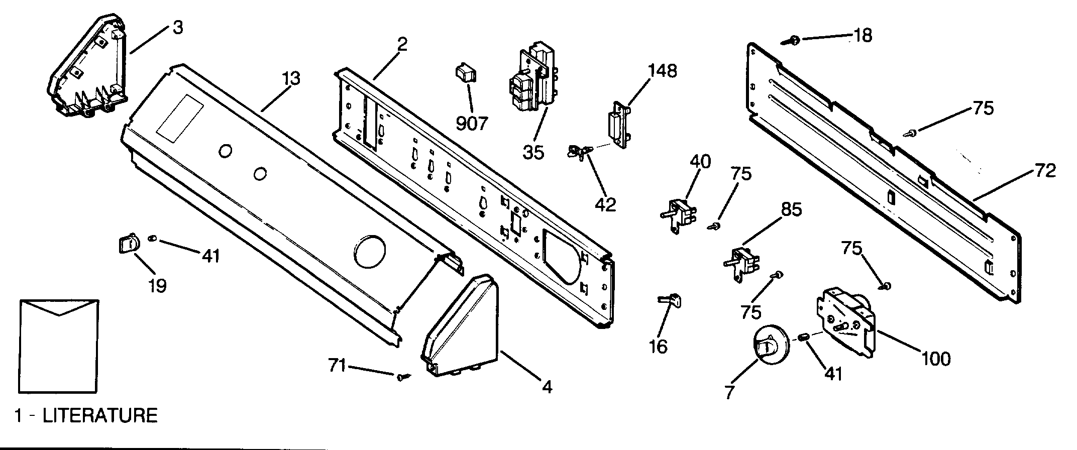
DDE7909RAL 0admin2025-04-26T08:35:58+00:00DDE7909RAL 0 ProductsPositionProduct1GEN 31-17021GEN 49-97071GEN 31-25392GEN WH46X03123GEN WH42X22254GEN WH42X22267GEN WE01X117813GEN WE19X091816GEN WH02X115118GEN WH02X115219GEN WH01X227435GEN WE04X078440GEN WE04X079841GEN WE01X0980?42GEN WE02X037371GEN WH02X115372GEN WH46X031175WH2X930 GE Screw85GEN WE04X0779100GEN WE04X0793148GEN WE04X0799178GEN WH02X0939907GEN WD09X0206