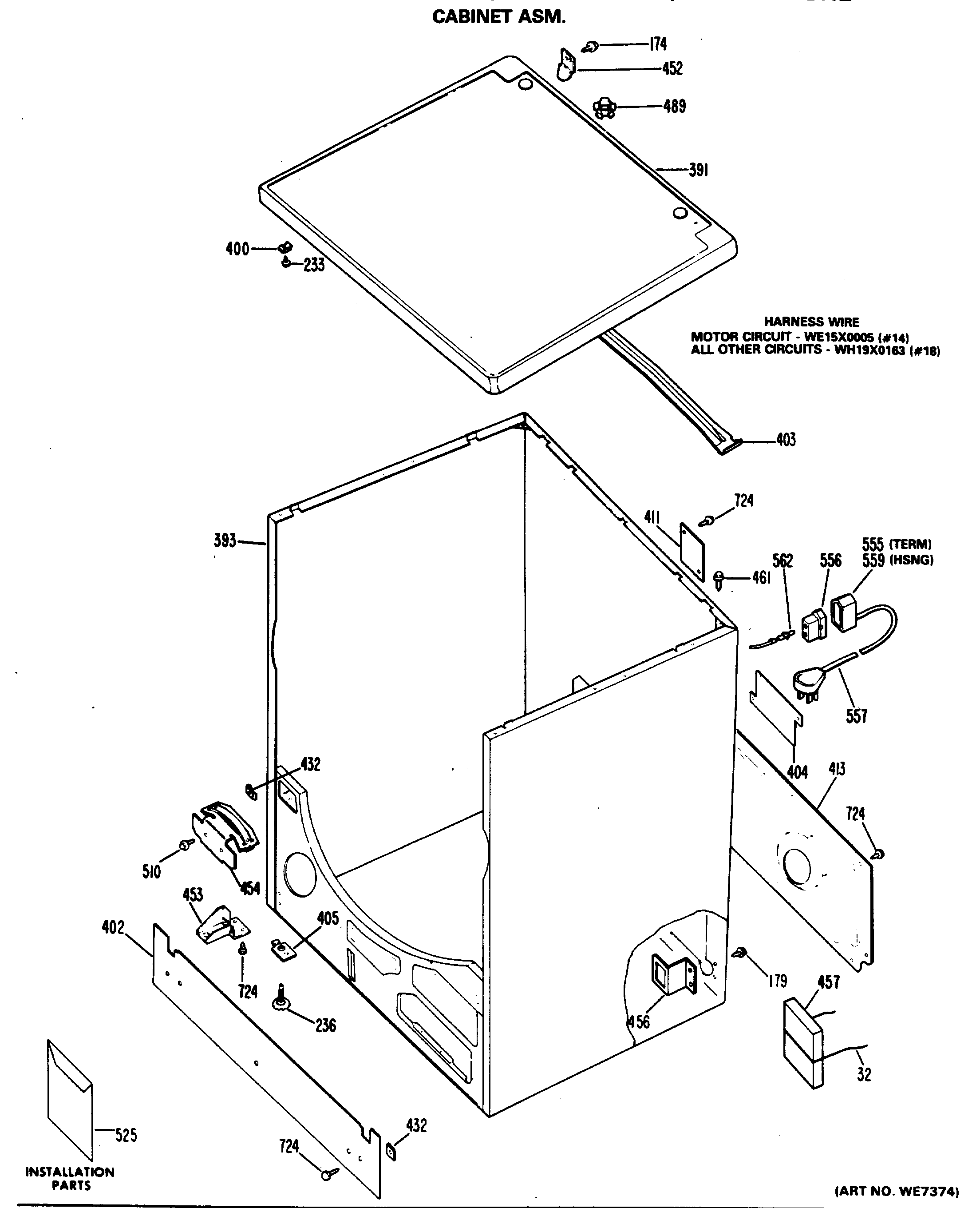
DDG4580GEL CABINET ASM.