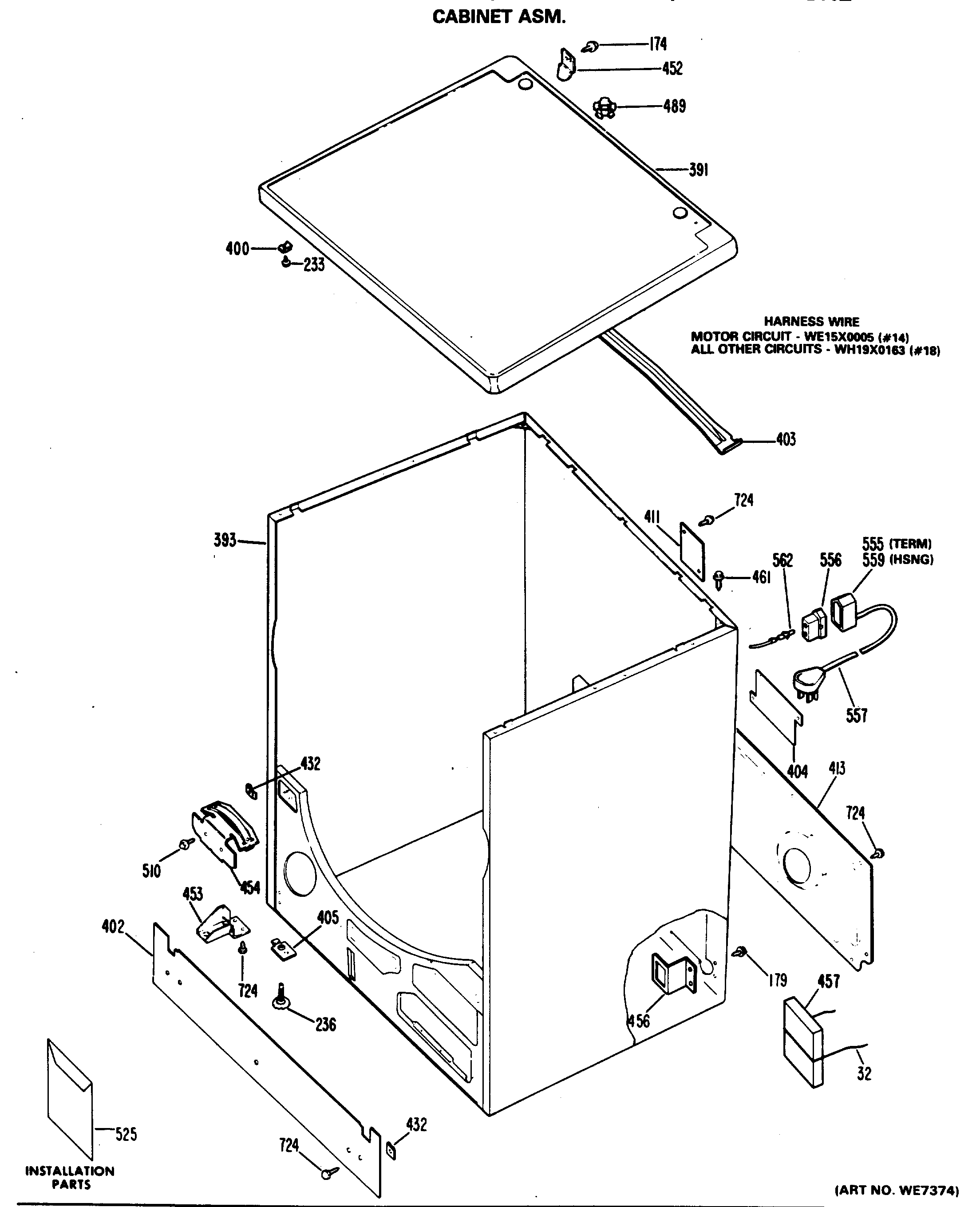
DDG5380GEL CABINET ASM.