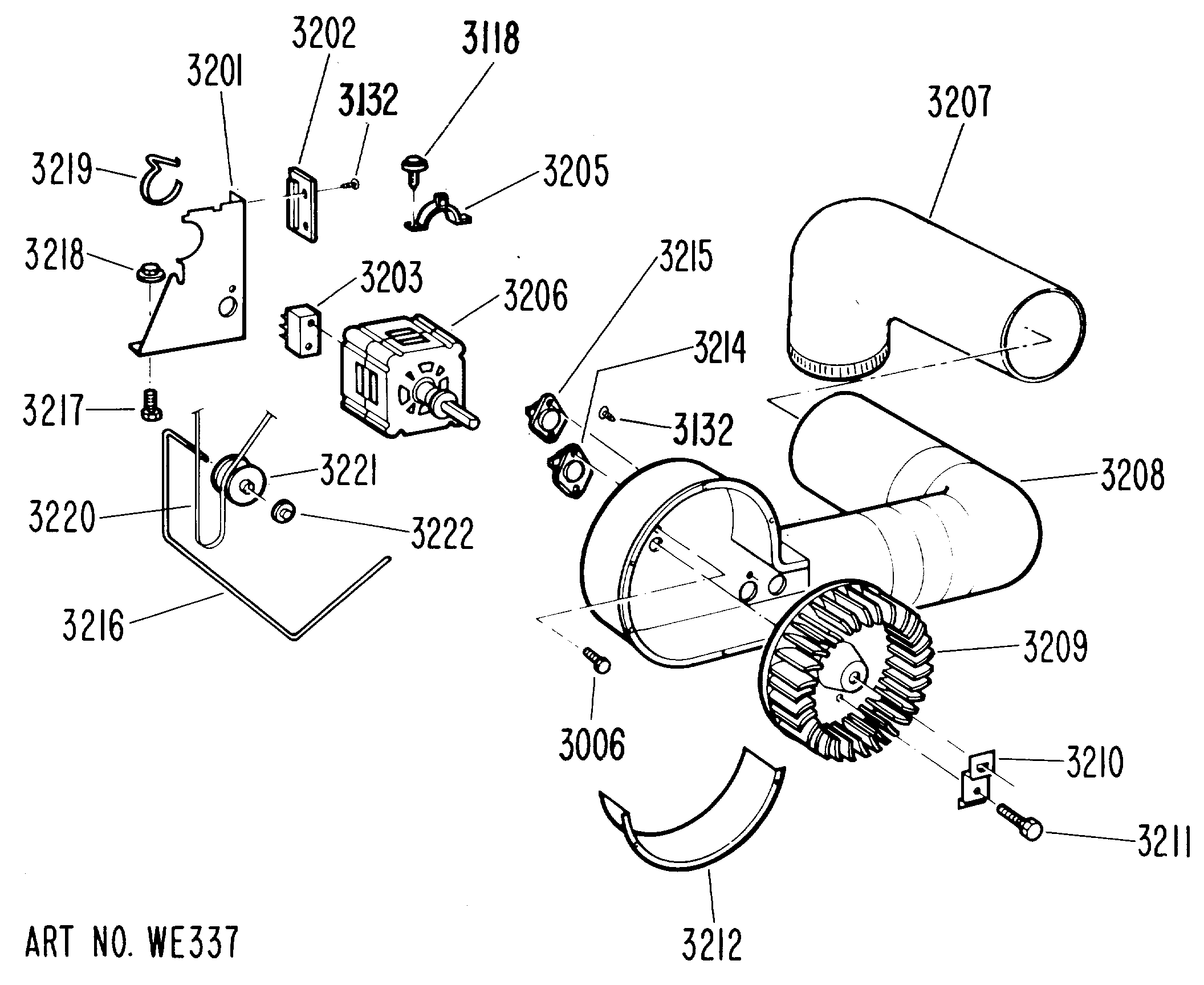
DDP1375GBM 1