DDP1380GBM 1
Products
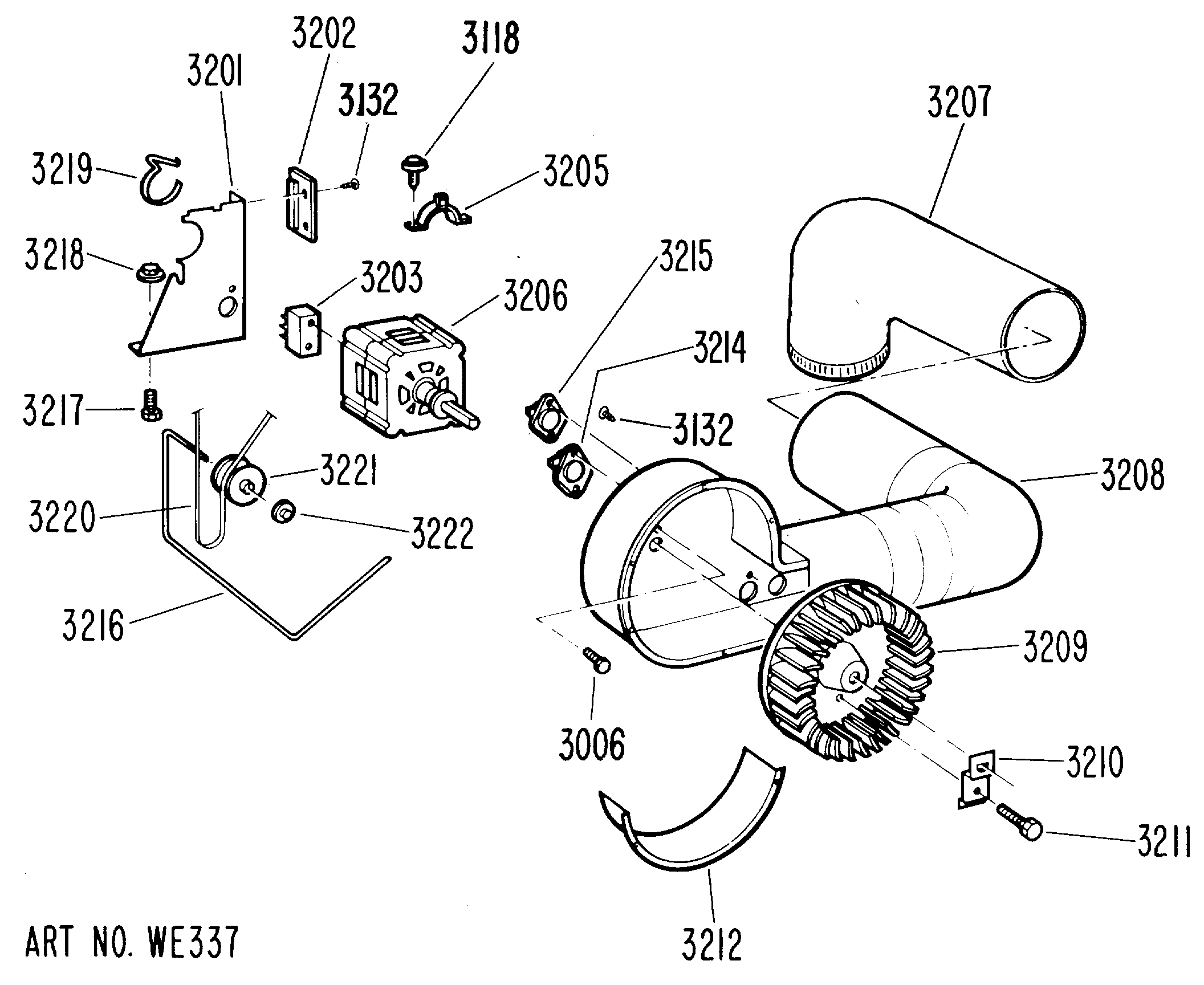
| Position | Product |
|---|---|
| 3006 | WE2X263D GE Screw Package 12 C92 |
| 3118 | WZ4X241D GE Screw Package |
| 3201 | GEN WE13X0168 |
| 3202 | RESISTER & BOARD |
| 3203 | GEN WE04X0689 |
| 3203 | SWITCH STARTING (FORM T) |
| 3205 | WE13X200 GE Motor Strap |
| 3206 | MOTOR PULLEY |
| 3207 | GEN WE14X0174 |
| 3208 | GEN WE14X0176 |
| 3209 | WHEEL BLOWER |
| 3210 | WE1X688 GE Dryer Clamp and Screw |
| 3211 | SCR |
| 3212 | GEN WE01X0689 |
| 3214 | GEN WE04X0690 |
| 3215 | WE4M127 GE Thermostat |
| 3216 | WE3M18 GE Idler Arm |
| 3217 | GEN WE02X0194 |
| 3218 | GEN WE02X0154 |
| 3219 | WE1X921 GE Motor Strap |
| 3220 | WE03X32037 GE Drive Belt |
| 3221 | WE12X81 GE Dryer Idler Pulley |
| 3222 | GEN WE02X0329 |