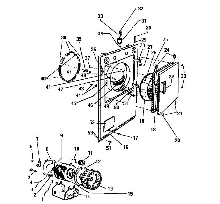
DE150EDH4 04 – FRONT PANEL, DOOR, MOTORadmin2025-04-26T08:53:57+00:00DE150EDH4 04 – FRONT PANEL, DOOR, MOTOR ProductsPositionProduct*22931WCI Q151411SCREW2WCI Q6001793SCREW4WCI Q6001965WCI Q4334016WCI Q4140027CLAMP8IDLER PULLEY AND BRACKET9SPRING10WCI Q6220611WCI Q9471512WCI Q9494813WCI Q61590114WCI Q9487415CSTART SWITCH FOR Q616401 GE15ESTART SWITCH FOR Q616391 EMER.15BMOTOR REPLACEMENT (EMER. P/N Q616391) SEE NOTE 115DSTART SWITCH FOR Q615921 WW16WCI Q17334518SHIELD19WCI Q16770320WCI Q12567422WCI Q15132623WCI Q41100424WCI Q63159125WCI Q12573426WCI Q50395227WCI Q50043328WCI Q9465129WCI Q50015530WCI Q5502131WCI Q18267132WCI Q12848133DOUBLE CONTACT BAYONET BASE 15W, 115/125V, CLEAR (BULB T34SCREW (4)35WCI Q18471237WCI Q50556438GUIDE KIT40WCI Q14288841WCI Q40580242WCI Q50145043WCI Q50248244WCI 146631445WCI Q50455146WCI Q16854147WCI Q1514248WCI Q40900449WCI Q50025550WCI Q60444251WCI Q50455252ACCESS DOOR, WHEAT53WCI Q501687